ОСТ 1 13699-81 Наконечники для алюминиевых электропроводов
Наконечник по ОСТ 1 13699-81 - это универсальный соединитель, так как закрепляется на электропроводе специальными клещами. Через наконечник электропровод соединяется с контактом по средствам болтового или винтового соединения. Для более прочного контаткта применяется шайба. Взамен нормалей 5839А, 5840А.
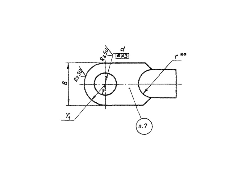
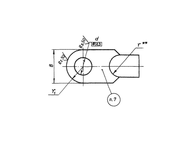
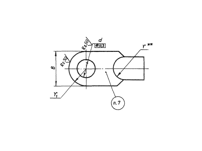
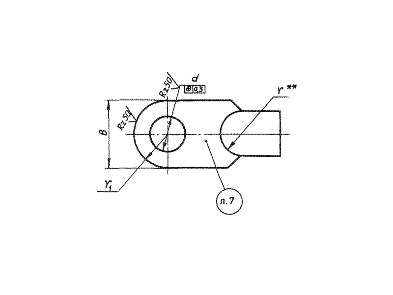
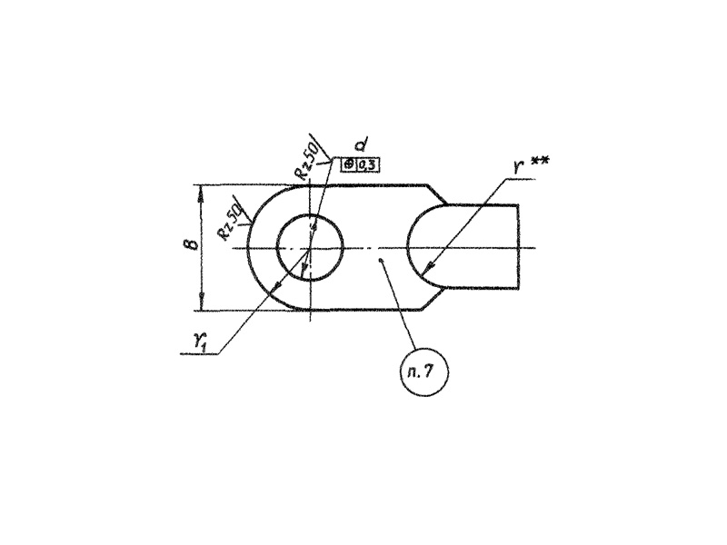
Конструкция и технические особенности
Конструкция наконечника представляет собой кусок трубки сплюснутой с одной стороны, и просверленным отверстием в сплющенной части и глухим ответрстием с другой стороны для обхвата электропровода.
Материал изготовления: труба М3М ГОСТ 617-90.
Материал покрытия: Гор.О.
Пример наименования и обозначения наконечника для алюминиевых электропроводов исполнения 2 типоразмера 10:
Наконечник 2-10-ОСТ 1 13699-81
ПРИМЕНЕНИЕ
Данные наконечники применяются во многих отраслях промышленности. Высокий спрос на изделие в машиностроении, в строительстве и авиастроении, где такие наконечники используют для надежного крепления проводов и кабелей в электросетях.
АНАЛОГИ
Нормали 5839А, 5840А.
| ОСТ/ГОСТ | Нормаль | Наименование | Типоразмер | На складе |
| ОСТ 1 13699-81 | 5839А, 5840А | Наконечник | 1х1 | В наличии |
| ОСТ 1 13699-81 | 5839А, 5840А | Наконечник | 1х2 | В наличии |
| ОСТ 1 13699-81 | 5839А, 5840А | Наконечник | 1х3 | В наличии |
| ОСТ 1 13699-81 | 5839А, 5840А | Наконечник | 1х4 | В наличии |
| ОСТ 1 13699-81 | 5839А, 5840А | Наконечник | 1х5 | В наличии |
| ОСТ 1 13699-81 | 5839А, 5840А | Наконечник | 1х6 | В наличии |
| ОСТ 1 13699-81 | 5839А, 5840А | Наконечник | 1х7 | В наличии |
| ОСТ 1 13699-81 | 5839А, 5840А | Наконечник | 1х8 | В наличии |
| ОСТ 1 13699-81 | 5839А, 5840А | Наконечник | 1х9 | В наличии |
| ОСТ 1 13699-81 | 5839А, 5840А | Наконечник | 1х10 | В наличии |
| ОСТ 1 13699-81 | 5839А, 5840А | Наконечник | 1х11 | В наличии |
| ОСТ 1 13699-81 | 5839А, 5840А | Наконечник | 1х12 | В наличии |
| ОСТ 1 13699-81 | 5839А, 5840А | Наконечник | 1х13 | В наличии |
| ОСТ 1 13699-81 | 5839А, 5840А | Наконечник | 1х14 | В наличии |
| ОСТ 1 13699-81 | 5839А, 5840А | Наконечник | 1х15 | В наличии |
| ОСТ 1 13699-81 | 5839А, 5840А | Наконечник | 1х16 | В наличии |
| ОСТ 1 13699-81 | 5839А, 5840А | Наконечник | 1х17 | В наличии |
| ОСТ 1 13699-81 | 5839А, 5840А | Наконечник | 1х18 | В наличии |
| ОСТ 1 13699-81 | 5839А, 5840А | Наконечник | 1х19 | В наличии |
| ОСТ 1 13699-81 | 5839А, 5840А | Наконечник | 1х20 | В наличии |
| ОСТ 1 13699-81 | 5839А, 5840А | Наконечник | 1х21 | В наличии |
| ОСТ 1 13699-81 | 5839А, 5840А | Наконечник | 1х22 | В наличии |
| ОСТ 1 13699-81 | 5839А, 5840А | Наконечник | 1х23 | В наличии |
| ОСТ 1 13699-81 | 5839А, 5840А | Наконечник | 1х24 | В наличии |
| ОСТ 1 13699-81 | 5839А, 5840А | Наконечник | 1х25 | В наличии |
| ОСТ 1 13699-81 | 5839А, 5840А | Наконечник | 1х26 | В наличии |
| ОСТ 1 13699-81 | 5839А, 5840А | Наконечник | 1х27 | В наличии |
| ОСТ 1 13699-81 | 5839А, 5840А | Наконечник | 1х28 | В наличии |
| ОСТ 1 13699-81 | 5839А, 5840А | Наконечник | 1х29 | В наличии |
| ОСТ 1 13699-81 | 5839А, 5840А | Наконечник | 1х30 | В наличии |
| ОСТ 1 13699-81 | 5839А, 5840А | Наконечник | 1х31 | В наличии |
| ОСТ 1 13699-81 | 5839А, 5840А | Наконечник | 1х32 | В наличии |
| ОСТ 1 13699-81 | 5839А, 5840А | Наконечник | 1х33 | В наличии |
| ОСТ 1 13699-81 | 5839А, 5840А | Наконечник | 1х34 | В наличии |
| ОСТ 1 13699-81 | 5839А, 5840А | Наконечник | 1х35 | В наличии |
| ОСТ 1 13699-81 | 5839А, 5840А | Наконечник | 1х36 | В наличии |
| ОСТ 1 13699-81 | 5839А, 5840А | Наконечник | 1х37 | В наличии |
| ОСТ 1 13699-81 | 5839А, 5840А | Наконечник | 2х1 | В наличии |
| ОСТ 1 13699-81 | 5839А, 5840А | Наконечник | 2х2 | В наличии |
| ОСТ 1 13699-81 | 5839А, 5840А | Наконечник | 2х3 | В наличии |
| ОСТ 1 13699-81 | 5839А, 5840А | Наконечник | 2х4 | В наличии |
| ОСТ 1 13699-81 | 5839А, 5840А | Наконечник | 2х5 | В наличии |
| ОСТ 1 13699-81 | 5839А, 5840А | Наконечник | 2х6 | В наличии |
| ОСТ 1 13699-81 | 5839А, 5840А | Наконечник | 2х7 | В наличии |
| ОСТ 1 13699-81 | 5839А, 5840А | Наконечник | 2х8 | В наличии |
| ОСТ 1 13699-81 | 5839А, 5840А | Наконечник | 2х9 | В наличии |
| ОСТ 1 13699-81 | 5839А, 5840А | Наконечник | 2х10 | В наличии |
| ОСТ 1 13699-81 | 5839А, 5840А | Наконечник | 2х11 | В наличии |
| ОСТ 1 13699-81 | 5839А, 5840А | Наконечник | 2х12 | В наличии |
| ОСТ 1 13699-81 | 5839А, 5840А | Наконечник | 2х13 | В наличии |
| ОСТ 1 13699-81 | 5839А, 5840А | Наконечник | 2х14 | В наличии |
| ОСТ 1 13699-81 | 5839А, 5840А | Наконечник | 2х15 | В наличии |
| ОСТ 1 13699-81 | 5839А, 5840А | Наконечник | 2х16 | В наличии |
| ОСТ 1 13699-81 | 5839А, 5840А | Наконечник | 2х17 | В наличии |
| ОСТ 1 13699-81 | 5839А, 5840А | Наконечник | 2х18 | В наличии |
| ОСТ 1 13699-81 | 5839А, 5840А | Наконечник | 2х19 | В наличии |
| ОСТ 1 13699-81 | 5839А, 5840А | Наконечник | 2х20 | В наличии |
| ОСТ 1 13699-81 | 5839А, 5840А | Наконечник | 2х21 | В наличии |
| ОСТ 1 13699-81 | 5839А, 5840А | Наконечник | 2х22 | В наличии |
| ОСТ 1 13699-81 | 5839А, 5840А | Наконечник | 2х23 | В наличии |
| ОСТ 1 13699-81 | 5839А, 5840А | Наконечник | 2х24 | В наличии |
| ОСТ 1 13699-81 | 5839А, 5840А | Наконечник | 2х25 | В наличии |
| ОСТ 1 13699-81 | 5839А, 5840А | Наконечник | 2х26 | В наличии |
| ОСТ 1 13699-81 | 5839А, 5840А | Наконечник | 2х27 | В наличии |
| ОСТ 1 13699-81 | 5839А, 5840А | Наконечник | 2х28 | В наличии |
| ОСТ 1 13699-81 | 5839А, 5840А | Наконечник | 2х29 | В наличии |
| ОСТ 1 13699-81 | 5839А, 5840А | Наконечник | 2х30 | В наличии |
| ОСТ 1 13699-81 | 5839А, 5840А | Наконечник | 2х31 | В наличии |
| ОСТ 1 13699-81 | 5839А, 5840А | Наконечник | 2х32 | В наличии |
| ОСТ 1 13699-81 | 5839А, 5840А | Наконечник | 2х33 | В наличии |
| ОСТ 1 13699-81 | 5839А, 5840А | Наконечник | 2х34 | В наличии |
| ОСТ 1 13699-81 | 5839А, 5840А | Наконечник | 2х35 | В наличии |
| ОСТ 1 13699-81 | 5839А, 5840А | Наконечник | 2х36 | В наличии |
| ОСТ 1 13699-81 | 5839А, 5840А | Наконечник | 2х37 | В наличии |
| ОСТ 1 13699-81 | 5839А, 5840А | Наконечник | 3х1 | В наличии |
| ОСТ 1 13699-81 | 5839А, 5840А | Наконечник | 3х2 | В наличии |
| ОСТ 1 13699-81 | 5839А, 5840А | Наконечник | 3х3 | В наличии |
| ОСТ 1 13699-81 | 5839А, 5840А | Наконечник | 3х4 | В наличии |
| ОСТ 1 13699-81 | 5839А, 5840А | Наконечник | 3х5 | В наличии |
| ОСТ 1 13699-81 | 5839А, 5840А | Наконечник | 3х6 | В наличии |
| ОСТ 1 13699-81 | 5839А, 5840А | Наконечник | 3х7 | В наличии |
| ОСТ 1 13699-81 | 5839А, 5840А | Наконечник | 3х8 | В наличии |
| ОСТ 1 13699-81 | 5839А, 5840А | Наконечник | 3х9 | В наличии |
| ОСТ 1 13699-81 | 5839А, 5840А | Наконечник | 3х10 | В наличии |
| ОСТ 1 13699-81 | 5839А, 5840А | Наконечник | 3х11 | В наличии |
| ОСТ 1 13699-81 | 5839А, 5840А | Наконечник | 3х12 | В наличии |
| ОСТ 1 13699-81 | 5839А, 5840А | Наконечник | 3х13 | В наличии |
| ОСТ 1 13699-81 | 5839А, 5840А | Наконечник | 3х14 | В наличии |
| ОСТ 1 13699-81 | 5839А, 5840А | Наконечник | 3х15 | В наличии |
| ОСТ 1 13699-81 | 5839А, 5840А | Наконечник | 3х16 | В наличии |
| ОСТ 1 13699-81 | 5839А, 5840А | Наконечник | 3х17 | В наличии |
| ОСТ 1 13699-81 | 5839А, 5840А | Наконечник | 3х18 | В наличии |
| ОСТ 1 13699-81 | 5839А, 5840А | Наконечник | 3х19 | В наличии |
| ОСТ 1 13699-81 | 5839А, 5840А | Наконечник | 3х20 | В наличии |
| ОСТ 1 13699-81 | 5839А, 5840А | Наконечник | 3х21 | В наличии |
| ОСТ 1 13699-81 | 5839А, 5840А | Наконечник | 3х22 | В наличии |
| ОСТ 1 13699-81 | 5839А, 5840А | Наконечник | 3х23 | В наличии |
| ОСТ 1 13699-81 | 5839А, 5840А | Наконечник | 3х24 | В наличии |
| ОСТ 1 13699-81 | 5839А, 5840А | Наконечник | 3х25 | В наличии |
| ОСТ 1 13699-81 | 5839А, 5840А | Наконечник | 3х26 | В наличии |
| ОСТ 1 13699-81 | 5839А, 5840А | Наконечник | 3х27 | В наличии |
| ОСТ 1 13699-81 | 5839А, 5840А | Наконечник | 3х28 | В наличии |
| ОСТ 1 13699-81 | 5839А, 5840А | Наконечник | 3х29 | В наличии |
| ОСТ 1 13699-81 | 5839А, 5840А | Наконечник | 3х30 | В наличии |
| ОСТ 1 13699-81 | 5839А, 5840А | Наконечник | 3х31 | В наличии |
| ОСТ 1 13699-81 | 5839А, 5840А | Наконечник | 3х32 | В наличии |
| ОСТ 1 13699-81 | 5839А, 5840А | Наконечник | 3х33 | В наличии |
| ОСТ 1 13699-81 | 5839А, 5840А | Наконечник | 3х34 | В наличии |
| ОСТ 1 13699-81 | 5839А, 5840А | Наконечник | 3х35 | В наличии |
| ОСТ 1 13699-81 | 5839А, 5840А | Наконечник | 3х36 | В наличии |
| ОСТ 1 13699-81 | 5839А, 5840А | Наконечник | 3х37 | В наличии |
| ОСТ 1 13699-81 | 5839А, 5840А | Наконечник | 4х1 | В наличии |
| ОСТ 1 13699-81 | 5839А, 5840А | Наконечник | 4х2 | В наличии |
| ОСТ 1 13699-81 | 5839А, 5840А | Наконечник | 4х3 | В наличии |
| ОСТ 1 13699-81 | 5839А, 5840А | Наконечник | 4х4 | В наличии |
| ОСТ 1 13699-81 | 5839А, 5840А | Наконечник | 4х5 | В наличии |
| ОСТ 1 13699-81 | 5839А, 5840А | Наконечник | 4х6 | В наличии |
| ОСТ 1 13699-81 | 5839А, 5840А | Наконечник | 4х7 | В наличии |
| ОСТ 1 13699-81 | 5839А, 5840А | Наконечник | 4х8 | В наличии |
| ОСТ 1 13699-81 | 5839А, 5840А | Наконечник | 4х9 | В наличии |
| ОСТ 1 13699-81 | 5839А, 5840А | Наконечник | 4х10 | В наличии |
| ОСТ 1 13699-81 | 5839А, 5840А | Наконечник | 4х11 | В наличии |
| ОСТ 1 13699-81 | 5839А, 5840А | Наконечник | 4х12 | В наличии |
| ОСТ 1 13699-81 | 5839А, 5840А | Наконечник | 4х13 | В наличии |
| ОСТ 1 13699-81 | 5839А, 5840А | Наконечник | 4х14 | В наличии |
| ОСТ 1 13699-81 | 5839А, 5840А | Наконечник | 4х15 | В наличии |
| ОСТ 1 13699-81 | 5839А, 5840А | Наконечник | 4х16 | В наличии |
| ОСТ 1 13699-81 | 5839А, 5840А | Наконечник | 4х17 | В наличии |
| ОСТ 1 13699-81 | 5839А, 5840А | Наконечник | 4х18 | В наличии |
| ОСТ 1 13699-81 | 5839А, 5840А | Наконечник | 4х19 | В наличии |
| ОСТ 1 13699-81 | 5839А, 5840А | Наконечник | 4х20 | В наличии |
| ОСТ 1 13699-81 | 5839А, 5840А | Наконечник | 4х21 | В наличии |
| ОСТ 1 13699-81 | 5839А, 5840А | Наконечник | 4х22 | В наличии |
| ОСТ 1 13699-81 | 5839А, 5840А | Наконечник | 4х23 | В наличии |
| ОСТ 1 13699-81 | 5839А, 5840А | Наконечник | 4х24 | В наличии |
| ОСТ 1 13699-81 | 5839А, 5840А | Наконечник | 4х25 | В наличии |
| ОСТ 1 13699-81 | 5839А, 5840А | Наконечник | 4х26 | В наличии |
| ОСТ 1 13699-81 | 5839А, 5840А | Наконечник | 4х27 | В наличии |
| ОСТ 1 13699-81 | 5839А, 5840А | Наконечник | 4х28 | В наличии |
| ОСТ 1 13699-81 | 5839А, 5840А | Наконечник | 4х29 | В наличии |
| ОСТ 1 13699-81 | 5839А, 5840А | Наконечник | 4х30 | В наличии |
| ОСТ 1 13699-81 | 5839А, 5840А | Наконечник | 4х31 | В наличии |
| ОСТ 1 13699-81 | 5839А, 5840А | Наконечник | 4х32 | В наличии |
| ОСТ 1 13699-81 | 5839А, 5840А | Наконечник | 4х33 | В наличии |
| ОСТ 1 13699-81 | 5839А, 5840А | Наконечник | 4х34 | В наличии |
| ОСТ 1 13699-81 | 5839А, 5840А | Наконечник | 4х35 | В наличии |
| ОСТ 1 13699-81 | 5839А, 5840А | Наконечник | 4х36 | В наличии |
| ОСТ 1 13699-81 | 5839А, 5840А | Наконечник | 4х37 | В наличии |
Для изготовителей и поставщиков: Добавить мои товары в базу
Для покупателей: Подать заявку на покупку
| Наименование | Типоразмер | Материал | Количество, шт | Вес, кг |
| Наконечник ОСТ 1 13699-81 5839А, 5840А |
ОСТ 1 30055-84 Накатка кольцевая стержней болт-заклепок из титанового сплава
ОСТ 1 31076-80 Маркировка крепежных изделий взамен НОРМАЛЬ 176АТ
ОСТ 1 31076-80: Маркировка крепежных изделий (взамен НОРМАЛЬ 176АТ)
ОСТ 1 39502-77 Стопорение болтов, винтов, шпилек, штифтов и гаек
ОСТ 1 39503-77 Длины болтов и винтов
ОСТ 1 39504-79 Головки шестигранные болтов и винтов
ОСТ 1 51730-79 Оснастка для формообразования концов труб тяг управления из сплава Д16Т
ОСТ 1 51731-79 Оснастка для формообразования концов труб тяг управления из сплава Д16Т
ОСТ 1.41001-79 Диаметры отверстий под нарезание резьбы метрической по нормали 754АТ
ОСТ 1.41002-79 Диаметры стержней под нарезание резьбы метрической по нормали 754АТ и ОСТ 1.00039-73
ОСТ 92-0762-72 Болты, винты из титановых сплавов
ОСТ 92-1130-85 Детали стальные точные
ОСТ 92-1179-77 Детали и сборочные единицы из сталей марок 07Х16Н6 и 08Х17Н5М3
ОСТ 92-8653-75 по ОСТ 92-8674-75 Соединения трубопроводов по внутреннему конусу
ОСТ 92-8843-77 Крепежные детали повышенного качества
ОСТ-1-33102-80 Взамен нормали 102АТУ Гайки ОСТ-1-33102-80
Отраслевая нормаль 214АТ В замен нормали 214МТ55 метрическая резьбой со свободной посадкой
Отраслевая нормаль 714М55 pdf Кольца плоские ,стопорные технические условия
Отраслевая нормаль авиационной техники 101АТУ Взамен 201СТУ51
2026 «Быстрометиз». Мы не интернет-магазин. Информация о наличии и стоимости продукции не является публичной офертой.
Задайте вопрос нашим специалистам