ОСТ 1 14237-82 Створки из бульбообразных профилей

ост 1 14237-82 створки из бульбообразных профилей

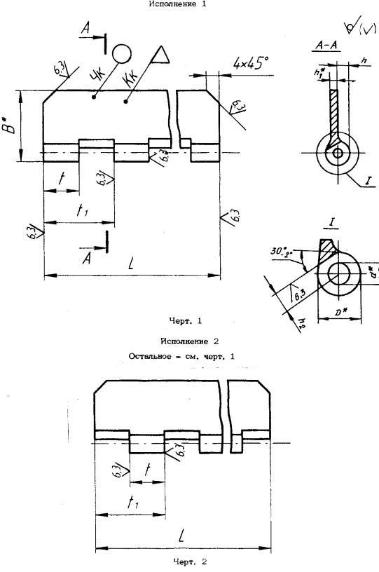
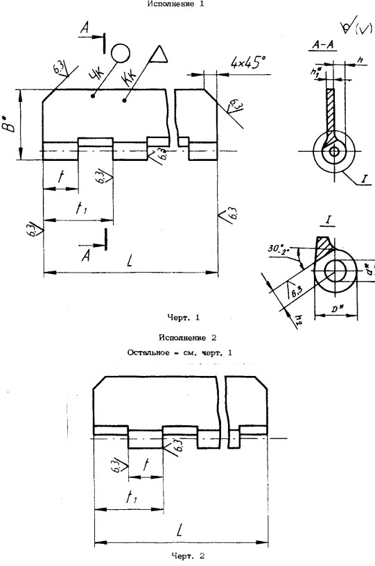
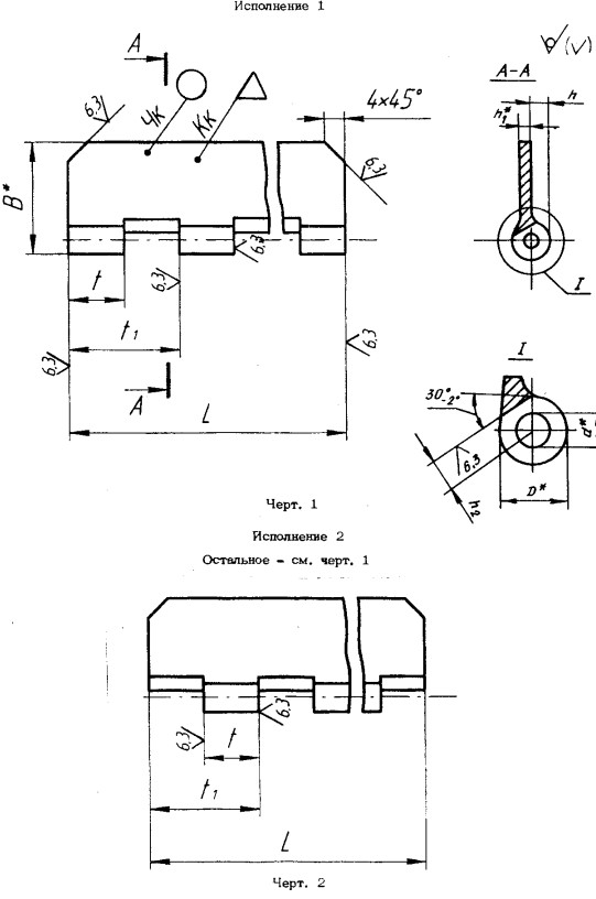
Настоящий стандарт распространяется на створки, предназначенные для создания шарнирных соединений у крышек, люков и щитков.

КОНСТРУКЦИЯ И ТЕХНИЧЕСКИЕ ОСОБЕННОСТИ

Конструкция состоит состоит из металлической планки на стержне.

Материал изготовления: Д16.Т.ПП ОСТ 1 92067-78, заменитель Д16ч.Т. Д19ч.Т ОСТ 1 92067-78.

Материал покрытия: Ан.Окс.хр/лкп; Ан.Окс.нв.

ОСТ 1 14237-82.pdf

Пример наименования и обозначения створки из бульбообразного профиля, исполнения 1 с размерами h=5,0мм, t=15мм, L=75мм с покрытием Ан.Окс.хр/лкп из сплава марки Д16.Т.ПП:

Створка 1-5-15-75-1 -ОСТ 1 14237-82

Створка
Наименование метиза
1
Исполнение
5
Высота
15
Величина
75
Длина
1
Покрытие
ОСТ 1 14237-82
Нормативно-технический документ

То же из сплава марки Д19ч.Т:

Створка 1-5-15-75-1-3-ОСТ 1 14237-82

Створка
Наименование метиза
1
Исполнение
5
Высота
15
Величина
75
Длина
1
Покрытие
3
Материал
ОСТ 1 14237-82
Нормативно-технический документ

ПРИМЕНЕНИЕ

     Данные створки применяются во многих отраслях промышленности. 

АНАЛОГИ

Взамен 1254С56, 1255С56, 1256С56, 1257С56

ОСТ/ГОСТНормальНаименованиеТипоразмерНа складе
ОСТ 1 14237-821254С56, 1255С56, 1256С56, 1257С56Створки4,6х15х45В наличии
ОСТ 1 14237-821254С56, 1255С56, 1256С56, 1257С57Створки5х15х45В наличии
ОСТ 1 14237-821254С56, 1255С56, 1256С56, 1257С58Створки6х15х45В наличии
ОСТ 1 14237-821254С56, 1255С56, 1256С56, 1257С59Створки6,5х15х45В наличии
ОСТ 1 14237-821254С56, 1255С56, 1256С56, 1257С60Створки7,5х15х45В наличии
ОСТ 1 14237-821254С56, 1255С56, 1256С56, 1257С61Створки5х20х60В наличии
ОСТ 1 14237-821254С56, 1255С56, 1256С56, 1257С62Створки6х20х60В наличии
ОСТ 1 14237-821254С56, 1255С56, 1256С56, 1257С63Створки6,5х20х60В наличии
ОСТ 1 14237-821254С56, 1255С56, 1256С56, 1257С64Створки7,5х20х60В наличии
ОСТ 1 14237-821254С56, 1255С56, 1256С56, 1257С65Створки5х30х90В наличии
ОСТ 1 14237-821254С56, 1255С56, 1256С56, 1257С66Створки6х30х90В наличии
ОСТ 1 14237-821254С56, 1255С56, 1256С56, 1257С67Створки6,5х30х90В наличии
ОСТ 1 14237-821254С56, 1255С56, 1256С56, 1257С68Створки7,5х30х90В наличии

Для изготовителей и поставщиков: Добавить мои товары в базу

Для покупателей: Подать заявку на покупку

НаименованиеТипоразмерМатериалКоличество, штВес, кг
Створки ОСТ 1 14237-82 1254С56, 1255С56, 1256С56, 1257С56
О

ОСТ 1 30055-84 Накатка кольцевая стержней болт-заклепок из титанового сплава

ОСТ 1 31076-80 Маркировка крепежных изделий взамен НОРМАЛЬ 176АТ

ОСТ 1 31076-80: Маркировка крепежных изделий (взамен НОРМАЛЬ 176АТ)

ОСТ 1 38016-80 Футорки

ОСТ 1 38020-82 Втулки

ОСТ 1 39502-77 Стопорение болтов, винтов, шпилек, штифтов и гаек

ОСТ 1 39503-77 Длины болтов и винтов

ОСТ 1 39504-79 Головки шестигранные болтов и винтов

ОСТ 1 41471-79 Формообразование концов труб тяг управления из сплава Д16Т. Типовой технологический процесс

ОСТ 1 51730-79 Оснастка для формообразования концов труб тяг управления из сплава Д16Т

ОСТ 1 51731-79 Оснастка для формообразования концов труб тяг управления из сплава Д16Т

ОСТ 1.41001-79 Диаметры отверстий под нарезание резьбы метрической по нормали 754АТ

ОСТ 1.41002-79 Диаметры стержней под нарезание резьбы метрической по нормали 754АТ и ОСТ 1.00039-73

ОСТ 92-0762-72 Болты, винты из титановых сплавов

ОСТ 92-0912-69 Детали из высокопрочных углеродистых легированных и высоколегированных сталей. ОСТ 92-0912-69

ОСТ 92-1130-85 Детали стальные точные

ОСТ 92-1179-77 Детали и сборочные единицы из сталей марок 07Х16Н6 и 08Х17Н5М3

ОСТ 92-8653-75 по ОСТ 92-8674-75 Соединения трубопроводов по внутреннему конусу

ОСТ 92-8843-77 Крепежные детали повышенного качества

ОСТ-1-33102-80 Взамен нормали 102АТУ Гайки ОСТ-1-33102-80

Отраслевая нормаль 214АТ В замен нормали 214МТ55 метрическая резьбой со свободной посадкой

Отраслевая нормаль 714М55 pdf Кольца плоские ,стопорные технические условия

Отраслевая нормаль авиационной техники 101АТУ Взамен 201СТУ51

Отраслевая нормаль авиационной техники. Нормаль 722АТ.

Р

РЕЗЬБА МЕТРИЧЕСКАЯ

Резьба метрическая усиленная тугой посадкой сталь в алюминиевые и магниевые сплавы. Нормаль 254АТ взамен нормальный 154МТ46

Резьба метрическая. Основные размеры и допуски. Отраслевая нормаль 257АТ взамен 57АТ50 взамен 153МТ54.

РЕЗЬБА ТРАПЕЦЕИДАЛЬНАЯ

РЕЗЬБА ТРУБНАЯ ЦИЛИНДРИЧЕСКАЯ

РЕЗЬБА УПОРНАЯ

Резьба усиленная метрическая тугой посадкой сталь сталь система вала настоящая норма распространяется на резьбу усиленную метрическую тугой посадкой для сопрягаемых материалов сталь в сталь. Нормаль 122МТ53 взамен нормали 122МТ51

Резьба усиленная метрическая тугой посадкой сталь сталь система вала настоящая норма распространяется на резьбу усиленную метрическую тугой посадкой для сопрягаемых материалов сталь в сталь. Нормаль 122МТ53 взамен нормали 122МТ51

Резьбовые соединения. Резьба метрическая с натягом по посадкам 2Н5Д и 2Н5С Отраслевой стандарт ОСТ 1 04065–92

Оформите заказ или получите консультацию