ОСТ 1 10861-72 НИППЕЛИ УГЛОВЫЕ РЕЗИНОВЫХ РУКАВОВ С ХЛОПЧАТОБУМАЖНЫМИ ОПЛЕТКАМИ
Ниппели угловые – это специальный крепеж, применяющийся в качестве арматуры для соединений трубопроводов. Взамен 4832А, 4833А, 4834А, 4835А, 4836А, 4837А, 4838А, 4839А, 4840А, 4841А, 4842А, 4843А.
КОНСТРУКЦИЯ И ТЕХНИЧЕСКИЕ ОСОБЕННОСТИ
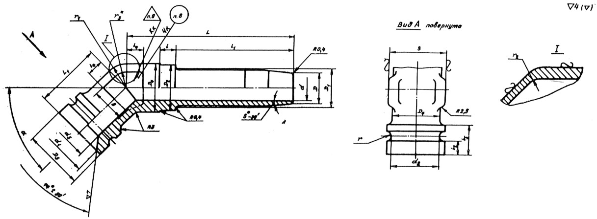
Конструкция ниппеля состоит из углового трубчатого патрубка с резьбой и хлопчатобумажными оплетками.
Материал изготовления: сталь марки 45.
Материал покрытия: Кд9.Хим.Окс.фос. или Ц9.Хим.Оксфос.
Пример обозначения углового ниппеля резиновых руковов с хлопчатобумажными оплетками типоразмера 15 из стали, с кадмиевым покрытием:
Ниппель 15-1-ОСТ 1 10861-72
То же, из стали с цинковым покрытием:
Ниппель 15-2-ОСТ 1 10861-72
ПРИМЕНЕНИЕ
Данные ниппели используются во многих отраслях промышленности.
АНАЛОГИ
Взамен 4832А, 4833А, 4834А, 4835А, 4836А, 4837А, 4838А, 4839А, 4840А, 4841А, 4842А, 4843А.
| ОСТ/ГОСТ | Нормаль | Наименование | Типоразмер | На складе |
| ОСТ 1 10861-72 | 4832А-4843А | Ниппели угловые | 1 | В наличии |
| ОСТ 1 10861-72 | 4832А-4843А | Ниппели угловые | 2 | В наличии |
| ОСТ 1 10861-72 | 4832А-4843А | Ниппели угловые | 3 | В наличии |
| ОСТ 1 10861-72 | 4832А-4843А | Ниппели угловые | 4 | В наличии |
| ОСТ 1 10861-72 | 4832А-4843А | Ниппели угловые | 5 | В наличии |
| ОСТ 1 10861-72 | 4832А-4843А | Ниппели угловые | 6 | В наличии |
| ОСТ 1 10861-72 | 4832А-4843А | Ниппели угловые | 7 | В наличии |
| ОСТ 1 10861-72 | 4832А-4843А | Ниппели угловые | 8 | В наличии |
| ОСТ 1 10861-72 | 4832А-4843А | Ниппели угловые | 9 | В наличии |
| ОСТ 1 10861-72 | 4832А-4843А | Ниппели угловые | 10 | В наличии |
| ОСТ 1 10861-72 | 4832А-4843А | Ниппели угловые | 11 | В наличии |
| ОСТ 1 10861-72 | 4832А-4843А | Ниппели угловые | 12 | В наличии |
| ОСТ 1 10861-72 | 4832А-4843А | Ниппели угловые | 13 | В наличии |
| ОСТ 1 10861-72 | 4832А-4843А | Ниппели угловые | 14 | В наличии |
| ОСТ 1 10861-72 | 4832А-4843А | Ниппели угловые | 15 | В наличии |
| ОСТ 1 10861-72 | 4832А-4843А | Ниппели угловые | 16 | В наличии |
| ОСТ 1 10861-72 | 4832А-4843А | Ниппели угловые | 17 | В наличии |
| ОСТ 1 10861-72 | 4832А-4843А | Ниппели угловые | 18 | В наличии |
| ОСТ 1 10861-72 | 4832А-4843А | Ниппели угловые | 19 | В наличии |
| ОСТ 1 10861-72 | 4832А-4843А | Ниппели угловые | 20 | В наличии |
| ОСТ 1 10861-72 | 4832А-4843А | Ниппели угловые | 21 | В наличии |
| ОСТ 1 10861-72 | 4832А-4843А | Ниппели угловые | 22 | В наличии |
| ОСТ 1 10861-72 | 4832А-4843А | Ниппели угловые | 23 | В наличии |
| ОСТ 1 10861-72 | 4832А-4843А | Ниппели угловые | 24 | В наличии |
| ОСТ 1 10861-72 | 4832А-4843А | Ниппели угловые | 25 | В наличии |
| ОСТ 1 10861-72 | 4832А-4843А | Ниппели угловые | 26 | В наличии |
| ОСТ 1 10861-72 | 4832А-4843А | Ниппели угловые | 27 | В наличии |
| ОСТ 1 10861-72 | 4832А-4843А | Ниппели угловые | 28 | В наличии |
| ОСТ 1 10861-72 | 4832А-4843А | Ниппели угловые | 29 | В наличии |
| ОСТ 1 10861-72 | 4832А-4843А | Ниппели угловые | 30 | В наличии |
| ОСТ 1 10861-72 | 4832А-4843А | Ниппели угловые | 31 | В наличии |
| ОСТ 1 10861-72 | 4832А-4843А | Ниппели угловые | 32 | В наличии |
| ОСТ 1 10861-72 | 4832А-4843А | Ниппели угловые | 33 | В наличии |
| ОСТ 1 10861-72 | 4832А-4843А | Ниппели угловые | 34 | В наличии |
| ОСТ 1 10861-72 | 4832А-4843А | Ниппели угловые | 35 | В наличии |
| ОСТ 1 10861-72 | 4832А-4843А | Ниппели угловые | 36 | В наличии |
| ОСТ 1 10861-72 | 4832А-4843А | Ниппели угловые | 37 | В наличии |
| ОСТ 1 10861-72 | 4832А-4843А | Ниппели угловые | 38 | В наличии |
| ОСТ 1 10861-72 | 4832А-4843А | Ниппели угловые | 39 | В наличии |
| ОСТ 1 10861-72 | 4832А-4843А | Ниппели угловые | 40 | В наличии |
| ОСТ 1 10861-72 | 4832А-4843А | Ниппели угловые | 41 | В наличии |
| ОСТ 1 10861-72 | 4832А-4843А | Ниппели угловые | 42 | В наличии |
| ОСТ 1 10861-72 | 4832А-4843А | Ниппели угловые | 43 | В наличии |
| ОСТ 1 10861-72 | 4832А-4843А | Ниппели угловые | 44 | В наличии |
| ОСТ 1 10861-72 | 4832А-4843А | Ниппели угловые | 45 | В наличии |
| ОСТ 1 10861-72 | 4832А-4843А | Ниппели угловые | 46 | В наличии |
| ОСТ 1 10861-72 | 4832А-4843А | Ниппели угловые | 47 | В наличии |
| ОСТ 1 10861-72 | 4832А-4843А | Ниппели угловые | 48 | В наличии |
| ОСТ 1 10861-72 | 4832А-4843А | Ниппели угловые | 49 | В наличии |
| ОСТ 1 10861-72 | 4832А-4843А | Ниппели угловые | 50 | В наличии |
| ОСТ 1 10861-72 | 4832А-4843А | Ниппели угловые | 51 | В наличии |
| ОСТ 1 10861-72 | 4832А-4843А | Ниппели угловые | 52 | В наличии |
| ОСТ 1 10861-72 | 4832А-4843А | Ниппели угловые | 53 | В наличии |
| ОСТ 1 10861-72 | 4832А-4843А | Ниппели угловые | 54 | В наличии |
| ОСТ 1 10861-72 | 4832А-4843А | Ниппели угловые | 55 | В наличии |
| ОСТ 1 10861-72 | 4832А-4843А | Ниппели угловые | 56 | В наличии |
| ОСТ 1 10861-72 | 4832А-4843А | Ниппели угловые | 57 | В наличии |
| ОСТ 1 10861-72 | 4832А-4843А | Ниппели угловые | 58 | В наличии |
| ОСТ 1 10861-72 | 4832А-4843А | Ниппели угловые | 59 | В наличии |
| ОСТ 1 10861-72 | 4832А-4843А | Ниппели угловые | 60 | В наличии |
| ОСТ 1 10861-72 | 4832А-4843А | Ниппели угловые | 61 | В наличии |
| ОСТ 1 10861-72 | 4832А-4843А | Ниппели угловые | 62 | В наличии |
| ОСТ 1 10861-72 | 4832А-4843А | Ниппели угловые | 63 | В наличии |
| ОСТ 1 10861-72 | 4832А-4843А | Ниппели угловые | 64 | В наличии |
| ОСТ 1 10861-72 | 4832А-4843А | Ниппели угловые | 65 | В наличии |
| ОСТ 1 10861-72 | 4832А-4843А | Ниппели угловые | 66 | В наличии |
| ОСТ 1 10861-72 | 4832А-4843А | Ниппели угловые | 67 | В наличии |
| ОСТ 1 10861-72 | 4832А-4843А | Ниппели угловые | 68 | В наличии |
| ОСТ 1 10861-72 | 4832А-4843А | Ниппели угловые | 69 | В наличии |
| ОСТ 1 10861-72 | 4832А-4843А | Ниппели угловые | 70 | В наличии |
| ОСТ 1 10861-72 | 4832А-4843А | Ниппели угловые | 71 | В наличии |
| ОСТ 1 10861-72 | 4832А-4843А | Ниппели угловые | 72 | В наличии |
| ОСТ 1 10861-72 | 4832А-4843А | Ниппели угловые | 73 | В наличии |
| ОСТ 1 10861-72 | 4832А-4843А | Ниппели угловые | 74 | В наличии |
| ОСТ 1 10861-72 | 4832А-4843А | Ниппели угловые | 75 | В наличии |
| ОСТ 1 10861-72 | 4832А-4843А | Ниппели угловые | 76 | В наличии |
| ОСТ 1 10861-72 | 4832А-4843А | Ниппели угловые | 77 | В наличии |
| ОСТ 1 10861-72 | 4832А-4843А | Ниппели угловые | 78 | В наличии |
| ОСТ 1 10861-72 | 4832А-4843А | Ниппели угловые | 79 | В наличии |
| ОСТ 1 10861-72 | 4832А-4843А | Ниппели угловые | 80 | В наличии |
| ОСТ 1 10861-72 | 4832А-4843А | Ниппели угловые | 81 | В наличии |
| ОСТ 1 10861-72 | 4832А-4843А | Ниппели угловые | 82 | В наличии |
| ОСТ 1 10861-72 | 4832А-4843А | Ниппели угловые | 83 | В наличии |
| ОСТ 1 10861-72 | 4832А-4843А | Ниппели угловые | 84 | В наличии |
| ОСТ 1 10861-72 | 4832А-4843А | Ниппели угловые | 85 | В наличии |
| ОСТ 1 10861-72 | 4832А-4843А | Ниппели угловые | 86 | В наличии |
| ОСТ 1 10861-72 | 4832А-4843А | Ниппели угловые | 87 | В наличии |
| ОСТ 1 10861-72 | 4832А-4843А | Ниппели угловые | 88 | В наличии |
| ОСТ 1 10861-72 | 4832А-4843А | Ниппели угловые | 89 | В наличии |
| ОСТ 1 10861-72 | 4832А-4843А | Ниппели угловые | 90 | В наличии |
| ОСТ 1 10861-72 | 4832А-4843А | Ниппели угловые | 91 | В наличии |
| ОСТ 1 10861-72 | 4832А-4843А | Ниппели угловые | 92 | В наличии |
| ОСТ 1 10861-72 | 4832А-4843А | Ниппели угловые | 93 | В наличии |
| ОСТ 1 10861-72 | 4832А-4843А | Ниппели угловые | 94 | В наличии |
| ОСТ 1 10861-72 | 4832А-4843А | Ниппели угловые | 95 | В наличии |
| ОСТ 1 10861-72 | 4832А-4843А | Ниппели угловые | 96 | В наличии |
Для изготовителей и поставщиков: Добавить мои товары в базу
Для покупателей: Подать заявку на покупку
| Наименование | Типоразмер | Материал | Количество, шт | Вес, кг |
| Ниппели угловые ОСТ 1 10861-72 4832А-4843А |
ОСТ 1 30055-84 Накатка кольцевая стержней болт-заклепок из титанового сплава
ОСТ 1 31076-80 Маркировка крепежных изделий взамен НОРМАЛЬ 176АТ
ОСТ 1 31076-80: Маркировка крепежных изделий (взамен НОРМАЛЬ 176АТ)
ОСТ 1 39502-77 Стопорение болтов, винтов, шпилек, штифтов и гаек
ОСТ 1 39503-77 Длины болтов и винтов
ОСТ 1 39504-79 Головки шестигранные болтов и винтов
ОСТ 1 51730-79 Оснастка для формообразования концов труб тяг управления из сплава Д16Т
ОСТ 1 51731-79 Оснастка для формообразования концов труб тяг управления из сплава Д16Т
ОСТ 1.41001-79 Диаметры отверстий под нарезание резьбы метрической по нормали 754АТ
ОСТ 1.41002-79 Диаметры стержней под нарезание резьбы метрической по нормали 754АТ и ОСТ 1.00039-73
ОСТ 92-0762-72 Болты, винты из титановых сплавов
ОСТ 92-1130-85 Детали стальные точные
ОСТ 92-1179-77 Детали и сборочные единицы из сталей марок 07Х16Н6 и 08Х17Н5М3
ОСТ 92-8653-75 по ОСТ 92-8674-75 Соединения трубопроводов по внутреннему конусу
ОСТ 92-8843-77 Крепежные детали повышенного качества
ОСТ-1-33102-80 Взамен нормали 102АТУ Гайки ОСТ-1-33102-80
Отраслевая нормаль 214АТ В замен нормали 214МТ55 метрическая резьбой со свободной посадкой
Отраслевая нормаль 714М55 pdf Кольца плоские ,стопорные технические условия
Отраслевая нормаль авиационной техники 101АТУ Взамен 201СТУ51
2026 «Быстрометиз». Мы не интернет-магазин. Информация о наличии и стоимости продукции не является публичной офертой.
Задайте вопрос нашим специалистам