Нормаль 3590А Заклепки под развальцовку с потайной головкой < 90 градусов

НОРМАЛЬ 3590А ЗАКЛЕПКИ ПОД РАЗВАЛЬЦОВКУ С ПОТАЙНОЙ ГОЛОВКОЙ < 90 ГРАДУСОВ 

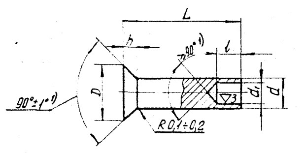
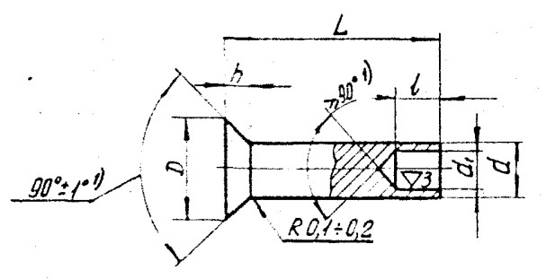
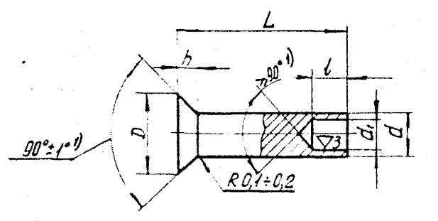
Заклепки Нормаль 3590А - это универсальный крепеж, так как закрепление деталей происходит ударным инструментом - расклепывая стержень заклепки, образуя шляпку не позволяющую разъединить детали, представляет собой цилиндрический стержень и потайную головку. Ими можно соединять сразу несколько деталей.

КОНСТРУКЦИЯ И ТЕХНИЧЕСКИЕ ОСОБЕННОСТИ

     Конструкция заклепки состоит из потайной головки и цилиндрического стержня.

     Материал изготовления: алюминиевый сплав Д18.

     Материал покрытия: анодное оксидирование.

Нормаль 3590А.pdf

Пример наименования и обозначения заклепки под развальцовку с потайной головкой < 90 градусов диаметром d=4мм и длиной L=12мм из алюминиевого сплава Д18, анодированной:

Заклепка 4-12-Нормаль 3590А

Заклепка
Наименование метиза
4
Диаметр
12
Длина
Нормаль 3590А
Нормативно-технический документ

ПРИМЕНЕНИЕ

Данные заклепки применяются во многих отраслях промышленности. Высокий спрос на изделие в машиностроении и строительстве, где такие заклепки используют для надежного крепления, соединения деталей и металлических конструкций.

АНАЛОГИ

ОСТ 1 34026-77

ОСТ/ГОСТНормальНаименованиеТипоразмерНа складе
Нормаль 3590АЗаклепка1,4х3В наличии
Нормаль 3590АЗаклепка1,4х4В наличии
Нормаль 3590АЗаклепка1,4х5В наличии
Нормаль 3590АЗаклепка1,4х6В наличии
Нормаль 3590АЗаклепка1,4х7В наличии
Нормаль 3590АЗаклепка1,4х8В наличии
Нормаль 3590АЗаклепка1,6х3В наличии
Нормаль 3590АЗаклепка1,6х4В наличии
Нормаль 3590АЗаклепка1,6х5В наличии
Нормаль 3590АЗаклепка1,6х6В наличии
Нормаль 3590АЗаклепка1,6х7В наличии
Нормаль 3590АЗаклепка1,6х8В наличии
Нормаль 3590АЗаклепка1,6х10В наличии
Нормаль 3590АЗаклепка2х4В наличии
Нормаль 3590АЗаклепка2х5В наличии
Нормаль 3590АЗаклепка2х6В наличии
Нормаль 3590АЗаклепка2х7В наличии
Нормаль 3590АЗаклепка2х8В наличии
Нормаль 3590АЗаклепка2х10В наличии
Нормаль 3590АЗаклепка2х12В наличии
Нормаль 3590АЗаклепка2х14В наличии
Нормаль 3590АЗаклепка2,6х5В наличии
Нормаль 3590АЗаклепка2,6х6В наличии
Нормаль 3590АЗаклепка2,6х7В наличии
Нормаль 3590АЗаклепка2,6х8В наличии
Нормаль 3590АЗаклепка2,6х10В наличии
Нормаль 3590АЗаклепка2,6х12В наличии
Нормаль 3590АЗаклепка2,6х14В наличии
Нормаль 3590АЗаклепка2,6х16В наличии
Нормаль 3590АЗаклепка3х6В наличии
Нормаль 3590АЗаклепка3х7В наличии
Нормаль 3590АЗаклепка3х8В наличии
Нормаль 3590АЗаклепка3х10В наличии
Нормаль 3590АЗаклепка3х12В наличии
Нормаль 3590АЗаклепка3х14В наличии
Нормаль 3590АЗаклепка3х16В наличии
Нормаль 3590АЗаклепка3х18В наличии
Нормаль 3590АЗаклепка3,5х8В наличии
Нормаль 3590АЗаклепка3,5х10В наличии
Нормаль 3590АЗаклепка3,5х12В наличии
Нормаль 3590АЗаклепка3,5х14В наличии
Нормаль 3590АЗаклепка3,5х16В наличии
Нормаль 3590АЗаклепка3,5х18В наличии
Нормаль 3590АЗаклепка3,5х20В наличии
Нормаль 3590АЗаклепка4х8В наличии
Нормаль 3590АЗаклепка4х10В наличии
Нормаль 3590АЗаклепка4х12В наличии
Нормаль 3590АЗаклепка4х14В наличии
Нормаль 3590АЗаклепка4х16В наличии
Нормаль 3590АЗаклепка4х18В наличии
Нормаль 3590АЗаклепка4х20В наличии
Нормаль 3590АЗаклепка4х22В наличии
Нормаль 3590АЗаклепка4х24В наличии

Для изготовителей и поставщиков: Добавить мои товары в базу

Для покупателей: Подать заявку на покупку

НаименованиеТипоразмерМатериалКоличество, штВес, кг
Заклепка Нормаль 3590А
О

ОСТ 1 30055-84 Накатка кольцевая стержней болт-заклепок из титанового сплава

ОСТ 1 31076-80 Маркировка крепежных изделий взамен НОРМАЛЬ 176АТ

ОСТ 1 31076-80: Маркировка крепежных изделий (взамен НОРМАЛЬ 176АТ)

ОСТ 1 38016-80 Футорки

ОСТ 1 38020-82 Втулки

ОСТ 1 39502-77 Стопорение болтов, винтов, шпилек, штифтов и гаек

ОСТ 1 39503-77 Длины болтов и винтов

ОСТ 1 39504-79 Головки шестигранные болтов и винтов

ОСТ 1 41471-79 Формообразование концов труб тяг управления из сплава Д16Т. Типовой технологический процесс

ОСТ 1 51730-79 Оснастка для формообразования концов труб тяг управления из сплава Д16Т

ОСТ 1 51731-79 Оснастка для формообразования концов труб тяг управления из сплава Д16Т

ОСТ 1.41001-79 Диаметры отверстий под нарезание резьбы метрической по нормали 754АТ

ОСТ 1.41002-79 Диаметры стержней под нарезание резьбы метрической по нормали 754АТ и ОСТ 1.00039-73

ОСТ 92-0762-72 Болты, винты из титановых сплавов

ОСТ 92-0912-69 Детали из высокопрочных углеродистых легированных и высоколегированных сталей. ОСТ 92-0912-69

ОСТ 92-1130-85 Детали стальные точные

ОСТ 92-1179-77 Детали и сборочные единицы из сталей марок 07Х16Н6 и 08Х17Н5М3

ОСТ 92-8653-75 по ОСТ 92-8674-75 Соединения трубопроводов по внутреннему конусу

ОСТ 92-8843-77 Крепежные детали повышенного качества

ОСТ-1-33102-80 Взамен нормали 102АТУ Гайки ОСТ-1-33102-80

Отраслевая нормаль 214АТ В замен нормали 214МТ55 метрическая резьбой со свободной посадкой

Отраслевая нормаль 714М55 pdf Кольца плоские ,стопорные технические условия

Отраслевая нормаль авиационной техники 101АТУ Взамен 201СТУ51

Отраслевая нормаль авиационной техники. Нормаль 722АТ.

Р

РЕЗЬБА МЕТРИЧЕСКАЯ

Резьба метрическая усиленная тугой посадкой сталь в алюминиевые и магниевые сплавы. Нормаль 254АТ взамен нормальный 154МТ46

Резьба метрическая. Основные размеры и допуски. Отраслевая нормаль 257АТ взамен 57АТ50 взамен 153МТ54.

РЕЗЬБА ТРАПЕЦЕИДАЛЬНАЯ

РЕЗЬБА ТРУБНАЯ ЦИЛИНДРИЧЕСКАЯ

РЕЗЬБА УПОРНАЯ

Резьба усиленная метрическая тугой посадкой сталь сталь система вала настоящая норма распространяется на резьбу усиленную метрическую тугой посадкой для сопрягаемых материалов сталь в сталь. Нормаль 122МТ53 взамен нормали 122МТ51

Резьба усиленная метрическая тугой посадкой сталь сталь система вала настоящая норма распространяется на резьбу усиленную метрическую тугой посадкой для сопрягаемых материалов сталь в сталь. Нормаль 122МТ53 взамен нормали 122МТ51

Резьбовые соединения. Резьба метрическая с натягом по посадкам 2Н5Д и 2Н5С Отраслевой стандарт ОСТ 1 04065–92

Оформите заказ или получите консультацию