ГОСТ 20189-74 Угольники фланцевые проходные герметизируемые для соединений трубопроводов по наружному конусу

гОСТ 20189-74 угольники фланцевые проходные герметизируемые для соединений трубопроводов по наружному конусу

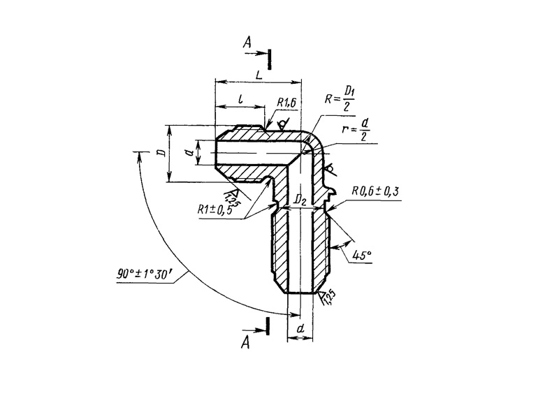
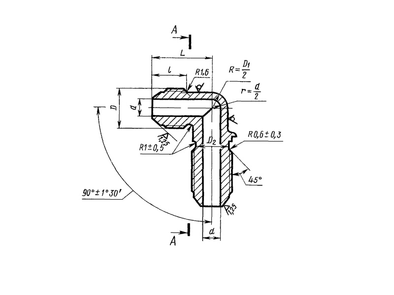
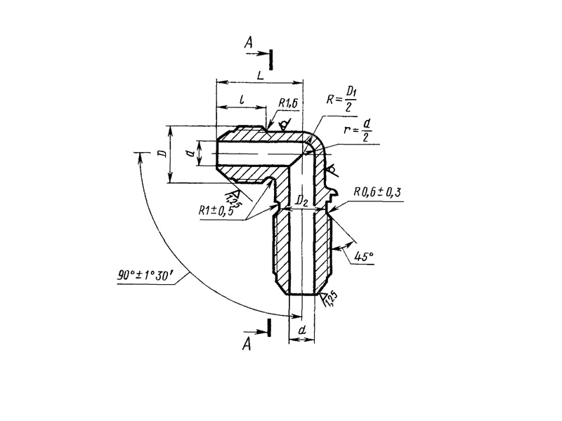
     Угольники фланцевые по ГОСТ 20189-74 – это специальный крепеж, предназначенный для соединений трубопроводов.

КОНСТРУКЦИЯ И ТЕХНИЧЕСКИЕ ОСОБЕННОСТИ

     Конструкция угольника проходного состоит из трубчатого уголка с резьбами.

     Материал изготовления: сталь, алюминий, бронза.

     Материал покрытия: без покрытия.

ГОСТ 20189-74.pdf

Пример наименования и обозначения фланцевого проходного герметизируемого угольника исполнения 1 к трубопроводу Dн = 12 мм из алюминиевого сплава:

Угольник фланцевый 1-12-31А ГОСТ 20189-74

Угольник фланцевый
Наименование метиза
1
Исполнение
12
Диаметр трубопровода
31А
Материал изготовления
ГОСТ 20189-74
Нормативно-технический документ

То же, из стали марки 45:

Угольник фланцевый 1-12-22А ГОСТ 20189-74

Угольник фланцевый
Наименование метиза
1
Исполнение
12
Диаметр трубопровода
22А
Материал изготовления
ГОСТ 20189-74
Нормативно-технический документ

То же, из стали марки 12Х18Н9Т:

Угольник фланцевый 1-12-13А ГОСТ 20189-74

Угольник фланцевый
Наименование метиза
1
Исполнение
12
Диаметр трубопровода
13А
Материал изготовления
ГОСТ 20189-74
Нормативно-технический документ

То же, из стали марки 13Х11Н2В2МФ:

Угольник фланцевый 1-12-11А ГОСТ 20189-74

Угольник фланцевый
Наименование метиза
1
Исполнение
12
Диаметр трубопровода
11А
Материал изготовления
ГОСТ 20189-74
Нормативно-технический документ

То же, из бронзы:

Угольник фланцевый 1-12-41А ГОСТ 20189-74

Угольник фланцевый
Наименование метиза
1
Исполнение
12
Диаметр трубопровода
41А
Материал изготовления
ГОСТ 20189-74
Нормативно-технический документ

То же, для изделий общего применения:

Угольник фланцевый 1-12-31 ГОСТ 20189-74

Угольник фланцевый
Наименование метиза
1
Исполнение
12
Диаметр трубопровода
31
Материал изготовления
ГОСТ 20189-74
Нормативно-технический документ

Угольник фланцевый 1-12-22 ГОСТ 20189-74

Угольник фланцевый
Наименование метиза
1
Исполнение
12
Диаметр трубопровода
22
Материал изготовления
ГОСТ 20189-74
Нормативно-технический документ

Угольник фланцевый 1-12-13 ГОСТ 20189-74

Угольник фланцевый
Наименование метиза
1
Исполнение
12
Диаметр трубопровода
13
Материал изготовления
ГОСТ 20189-74
Нормативно-технический документ

Угольник фланцевый 1-12-11 ГОСТ 20189-74

Угольник фланцевый
Наименование метиза
1
Исполнение
12
Диаметр трубопровода
11
Материал изготовления
ГОСТ 20189-74
Нормативно-технический документ

Угольник фланцевый 1-12-41 ГОСТ 20189-74

Угольник фланцевый
Наименование метиза
1
Исполнение
12
Диаметр трубопровода
41
Материал изготовления
ГОСТ 20189-74
Нормативно-технический документ

Пример условного обозначения фланцевого проходника Dн = 12 мм из алюминиевого сплава:

Угольник фланцевый 2-12-31А ГОСТ 20189-74

Угольник фланцевый
Наименование метиза
2
Исполнение
12
Диаметр трубопровода
31А
Материал изготовления
ГОСТ 20189-74
Нормативно-технический документ

То же, из стали марки 45:

Угольник фланцевый 2-12-22А ГОСТ 20189-74

Угольник фланцевый
Наименование метиза
2
Исполнение
12
Диаметр трубопровода
22А
Материал изготовления
ГОСТ 20189-74
Нормативно-технический документ

То же, из стали марки 12Х18Н9Т:

Угольник фланцевый 2-12-13А ГОСТ 20189-74

Угольник фланцевый
Наименование метиза
2
Исполнение
12
Диаметр трубопровода
13А
Материал изготовления
ГОСТ 20189-74
Нормативно-технический документ

То же, из стали марки 13Х11Н2В2МФ:

Угольник фланцевый 2-12-11А ГОСТ 20189-74

Угольник фланцевый
Наименование метиза
2
Исполнение
12
Диаметр трубопровода
11А
Материал изготовления
ГОСТ 20189-74
Нормативно-технический документ

То же, из бронзы:

Угольник фланцевый 2-12-41А ГОСТ 20189-74

Угольник фланцевый
Наименование метиза
2
Исполнение
12
Диаметр трубопровода
41А
Материал изготовления
ГОСТ 20189-74
Нормативно-технический документ

То же, для изделий общего применения:

Угольник фланцевый 2-12-31 ГОСТ 20189-74

Угольник фланцевый
Наименование метиза
2
Исполнение
12
Диаметр трубопровода
31
Материал изготовления
ГОСТ 20189-74
Нормативно-технический документ

Угольник фланцевый 2-12-22 ГОСТ 20189-74

Угольник фланцевый
Наименование метиза
2
Исполнение
12
Диаметр трубопровода
22
Материал изготовления
ГОСТ 20189-74
Нормативно-технический документ

Угольник фланцевый 2-12-13 ГОСТ 20189-74

Угольник фланцевый
Наименование метиза
2
Исполнение
12
Диаметр трубопровода
13
Материал изготовления
ГОСТ 20189-74
Нормативно-технический документ

Угольник фланцевый 2-12-11 ГОСТ 20189-74

Угольник фланцевый
Наименование метиза
2
Исполнение
12
Диаметр трубопровода
11
Материал изготовления
ГОСТ 20189-74
Нормативно-технический документ

Угольник фланцевый 2-12-41 ГОСТ 20189-74

Угольник фланцевый
Наименование метиза
2
Исполнение
12
Диаметр трубопровода
41
Материал изготовления
ГОСТ 20189-74
Нормативно-технический документ

ПРИМЕНЕНИЕ

     Данные угольники используются во многих отраслях промышленности.

АНАЛОГИ

ОСТ/ГОСТНормальНаименованиеТипоразмерНа складе
ГОСТ 20189-74Угольник фланцевый1х3В наличии
ГОСТ 20189-74Угольник фланцевый1х4В наличии
ГОСТ 20189-74Угольник фланцевый1х6В наличии
ГОСТ 20189-74Угольник фланцевый1х8В наличии
ГОСТ 20189-74Угольник фланцевый1х10В наличии
ГОСТ 20189-74Угольник фланцевый1х12В наличии
ГОСТ 20189-74Угольник фланцевый1х14В наличии
ГОСТ 20189-74Угольник фланцевый1х16В наличии
ГОСТ 20189-74Угольник фланцевый1х18В наличии
ГОСТ 20189-74Угольник фланцевый1х20В наличии
ГОСТ 20189-74Угольник фланцевый1х22В наличии
ГОСТ 20189-74Угольник фланцевый1х25В наличии
ГОСТ 20189-74Угольник фланцевый1х28В наличии
ГОСТ 20189-74Угольник фланцевый1х30В наличии
ГОСТ 20189-74Угольник фланцевый1х32В наличии
ГОСТ 20189-74Угольник фланцевый1х34В наличии
ГОСТ 20189-74Угольник фланцевый1х36В наличии
ГОСТ 20189-74Угольник фланцевый1х38В наличии
ГОСТ 20189-74Угольник фланцевый2х3В наличии
ГОСТ 20189-74Угольник фланцевый2х4В наличии
ГОСТ 20189-74Угольник фланцевый2х6В наличии
ГОСТ 20189-74Угольник фланцевый2х8В наличии
ГОСТ 20189-74Угольник фланцевый2х10В наличии
ГОСТ 20189-74Угольник фланцевый2х12В наличии
ГОСТ 20189-74Угольник фланцевый2х14В наличии
ГОСТ 20189-74Угольник фланцевый2х16В наличии
ГОСТ 20189-74Угольник фланцевый2х18В наличии
ГОСТ 20189-74Угольник фланцевый2х20В наличии
ГОСТ 20189-74Угольник фланцевый2х22В наличии
ГОСТ 20189-74Угольник фланцевый2х25В наличии
ГОСТ 20189-74Угольник фланцевый2х28В наличии
ГОСТ 20189-74Угольник фланцевый2х30В наличии
ГОСТ 20189-74Угольник фланцевый2х32В наличии
ГОСТ 20189-74Угольник фланцевый2х34В наличии
ГОСТ 20189-74Угольник фланцевый2х36В наличии
ГОСТ 20189-74Угольник фланцевый2х38В наличии

Для изготовителей и поставщиков: Добавить мои товары в базу

Для покупателей: Подать заявку на покупку

НаименованиеТипоразмерМатериалКоличество, штВес, кг
Угольник фланцевый ГОСТ 20189-74
О

ОСТ 1 30055-84 Накатка кольцевая стержней болт-заклепок из титанового сплава

ОСТ 1 31076-80 Маркировка крепежных изделий взамен НОРМАЛЬ 176АТ

ОСТ 1 31076-80: Маркировка крепежных изделий (взамен НОРМАЛЬ 176АТ)

ОСТ 1 38016-80 Футорки

ОСТ 1 38020-82 Втулки

ОСТ 1 39502-77 Стопорение болтов, винтов, шпилек, штифтов и гаек

ОСТ 1 39503-77 Длины болтов и винтов

ОСТ 1 39504-79 Головки шестигранные болтов и винтов

ОСТ 1 41471-79 Формообразование концов труб тяг управления из сплава Д16Т. Типовой технологический процесс

ОСТ 1 51730-79 Оснастка для формообразования концов труб тяг управления из сплава Д16Т

ОСТ 1 51731-79 Оснастка для формообразования концов труб тяг управления из сплава Д16Т

ОСТ 1.41001-79 Диаметры отверстий под нарезание резьбы метрической по нормали 754АТ

ОСТ 1.41002-79 Диаметры стержней под нарезание резьбы метрической по нормали 754АТ и ОСТ 1.00039-73

ОСТ 92-0762-72 Болты, винты из титановых сплавов

ОСТ 92-0912-69 Детали из высокопрочных углеродистых легированных и высоколегированных сталей. ОСТ 92-0912-69

ОСТ 92-1130-85 Детали стальные точные

ОСТ 92-1179-77 Детали и сборочные единицы из сталей марок 07Х16Н6 и 08Х17Н5М3

ОСТ 92-8653-75 по ОСТ 92-8674-75 Соединения трубопроводов по внутреннему конусу

ОСТ 92-8843-77 Крепежные детали повышенного качества

ОСТ-1-33102-80 Взамен нормали 102АТУ Гайки ОСТ-1-33102-80

Отраслевая нормаль 214АТ В замен нормали 214МТ55 метрическая резьбой со свободной посадкой

Отраслевая нормаль 714М55 pdf Кольца плоские ,стопорные технические условия

Отраслевая нормаль авиационной техники 101АТУ Взамен 201СТУ51

Отраслевая нормаль авиационной техники. Нормаль 722АТ.

Р

РЕЗЬБА МЕТРИЧЕСКАЯ

Резьба метрическая усиленная тугой посадкой сталь в алюминиевые и магниевые сплавы. Нормаль 254АТ взамен нормальный 154МТ46

Резьба метрическая. Основные размеры и допуски. Отраслевая нормаль 257АТ взамен 57АТ50 взамен 153МТ54.

РЕЗЬБА ТРАПЕЦЕИДАЛЬНАЯ

РЕЗЬБА ТРУБНАЯ ЦИЛИНДРИЧЕСКАЯ

РЕЗЬБА УПОРНАЯ

Резьба усиленная метрическая тугой посадкой сталь сталь система вала настоящая норма распространяется на резьбу усиленную метрическую тугой посадкой для сопрягаемых материалов сталь в сталь. Нормаль 122МТ53 взамен нормали 122МТ51

Резьба усиленная метрическая тугой посадкой сталь сталь система вала настоящая норма распространяется на резьбу усиленную метрическую тугой посадкой для сопрягаемых материалов сталь в сталь. Нормаль 122МТ53 взамен нормали 122МТ51

Резьбовые соединения. Резьба метрическая с натягом по посадкам 2Н5Д и 2Н5С Отраслевой стандарт ОСТ 1 04065–92

Оформите заказ или получите консультацию