ГОСТ 20198-74 Угольники ввертные переходные под резиновое уплотнение для соединений трубопроводов по наружному конусу

гОСТ 20198-74 угольники ввертные переходные под резиновое уплотнение для соединений трубопроводов по наружному конусу

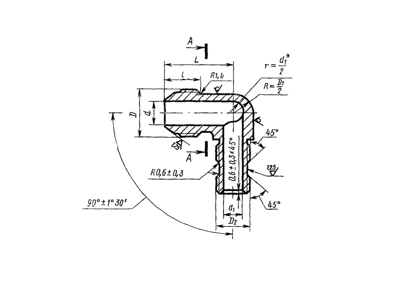
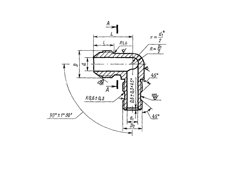
     Угольники ввертные переходные по ГОСТ 20198-74 – это специальный крепеж, предназначенный для соединений трубопроводов по наружному конусу.

КОНСТРУКЦИЯ И ТЕХНИЧЕСКИЕ ОСОБЕННОСТИ

     Конструкция угольника состоит из трубчатого уголка с резьбой и гайкой.

     Материал изготовления: сталь, алюминий, бронза.

     Материал покрытия: Хим.Пас.

ГОСТ 20198-74.pdf

Пример условного обозначения ввертного переходного угольника под резиновое уплотнение исполнения 1 к трубопроводу Dн =16 мм и с диаметром d1 =9,5 мм из алюминиевого сплава:

Угольник ввертной 1-16-9,5-31А ГОСТ 20198-74

Угольник ввертной
Наименование метиза
1
Исполнение
16
Диаметр Dн
9,5
Диаметр d1
31А
Материал изготовления
ГОСТ 20198-74
Нормативно-технический документ

То же, из стали марки 45:

Угольник ввертной 1-16-9,5-22А ГОСТ 20198-74

Угольник ввертной
Наименование метиза
1
Исполнение
16
Диаметр Dн
9,5
Диаметр d1
22А
Материал изготовления
ГОСТ 20198-74
Нормативно-технический документ

То же, из стали марки 12Х18Н9Т:

Угольник ввертной 1-16-9,5-13А ГОСТ 20198-74

Угольник ввертной
Наименование метиза
1
Исполнение
16
Диаметр Dн
9,5
Диаметр d1
13А
Материал изготовления
ГОСТ 20198-74
Нормативно-технический документ

То же, из стали марки 13Х11Н2В2МФ:

Угольник ввертной 1-16-9,5-11А ГОСТ 20198-74

Угольник ввертной
Наименование метиза
1
Исполнение
16
Диаметр Dн
9,5
Диаметр d1
11А
Материал изготовления
ГОСТ 20198-74
Нормативно-технический документ

То же, из бронзы:

Угольник ввертной 1-16-9,5-41А ГОСТ 20198-74

Угольник ввертной
Наименование метиза
1
Исполнение
16
Диаметр Dн
9,5
Диаметр d1
41А
Материал изготовления
ГОСТ 20198-74
Нормативно-технический документ

То же, для изделий общего применения:

Угольник ввертной 1-16-9,5-31 ГОСТ 20198-74

Угольник ввертной
Наименование метиза
1
Исполнение
16
Диаметр Dн
9,5
Диаметр d1
31
Материал изготовления
ГОСТ 20198-74
Нормативно-технический документ

Угольник ввертной 1-16-9,5-22 ГОСТ 20198-74

Угольник ввертной
Наименование метиза
1
Исполнение
16
Диаметр Dн
9,5
Диаметр d1
22
Материал изготовления
ГОСТ 20198-74
Нормативно-технический документ

Угольник ввертной 1-16-9,5-13 ГОСТ 20198-74

Угольник ввертной
Наименование метиза
1
Исполнение
16
Диаметр Dн
9,5
Диаметр d1
13
Материал изготовления
ГОСТ 20198-74
Нормативно-технический документ

Угольник ввертной 1-16-9,5-11 ГОСТ 20198-74

Угольник ввертной
Наименование метиза
1
Исполнение
16
Диаметр Dн
9,5
Диаметр d1
11
Материал изготовления
ГОСТ 20198-74
Нормативно-технический документ

Угольник ввертной 1-16-9,5-41 ГОСТ 20198-74

Угольник ввертной
Наименование метиза
1
Исполнение
16
Диаметр Dн
9,5
Диаметр d1
41
Материал изготовления
ГОСТ 20198-74
Нормативно-технический документ

Пример условного обозначения ввертного переходного угольника под резиновое уплотнение исполнения 2 к трубопроводу Dн =16 мм и с диаметром d1=9,5 мм из алюминиевого сплава:

Угольник ввертной 2-16-9,5-31А ГОСТ 20198-74

Угольник ввертной
Наименование метиза
2
Исполнение
16
Диаметр Dн
9,5
Диаметр d1
31А
Материал изготовления
ГОСТ 20198-74
Нормативно-технический документ

То же, из стали марки 45:

Угольник ввертной 2-16-9,5-22А ГОСТ 20198-74

Угольник ввертной
Наименование метиза
2
Исполнение
16
Диаметр Dн
9,5
Диаметр d1
22А
Материал изготовления
ГОСТ 20198-74
Нормативно-технический документ

То же, из стали марки 12Х18Н9Т:

Угольник ввертной 2-16-9,5-13А ГОСТ 20198-74

Угольник ввертной
Наименование метиза
2
Исполнение
16
Диаметр Dн
9,5
Диаметр d1
13А
Материал изготовления
ГОСТ 20198-74
Нормативно-технический документ

То же, из стали марки 13X11Н2В2МФ:

Угольник ввертной 2-16-9,5-11А ГОСТ 20198-74

Угольник ввертной
Наименование метиза
2
Исполнение
16
Диаметр Dн
9,5
Диаметр d1
11А
Материал изготовления
ГОСТ 20198-74
Нормативно-технический документ

То же, из бронзы:

Угольник ввертной 2-16-9,5-41А ГОСТ 20198-74

Угольник ввертной
Наименование метиза
2
Исполнение
16
Диаметр Dн
9,5
Диаметр d1
41А
Материал изготовления
ГОСТ 20198-74
Нормативно-технический документ

То же, для изделий общего применения:

Угольник ввертной 2-16-9,5-31 ГОСТ 20198-74

Угольник ввертной
Наименование метиза
2
Исполнение
16
Диаметр Dн
9,5
Диаметр d1
31
Материал изготовления
ГОСТ 20198-74
Нормативно-технический документ

Угольник ввертной 2-16-9,5-22 ГОСТ 20198-74

Угольник ввертной
Наименование метиза
2
Исполнение
16
Диаметр Dн
9,5
Диаметр d1
22
Материал изготовления
ГОСТ 20198-74
Нормативно-технический документ

Угольник ввертной 2-16-9,5-13 ГОСТ 20198-74

Угольник ввертной
Наименование метиза
2
Исполнение
16
Диаметр Dн
9,5
Диаметр d1
13
Материал изготовления
ГОСТ 20198-74
Нормативно-технический документ

Угольник ввертной 2-16-9,5-41 ГОСТ 20198-74

Угольник ввертной
Наименование метиза
2
Исполнение
16
Диаметр Dн
9,5
Диаметр d1
41
Материал изготовления
ГОСТ 20198-74
Нормативно-технический документ

ПРИМЕНЕНИЕ

     Данные угольники используются во многих отраслях промышленности.

АНАЛОГИ

ОСТ/ГОСТНормальНаименованиеТипоразмерНа складе
ГОСТ 20198-74Угольник проходной1х6х5,5В наличии
ГОСТ 20198-74Угольник проходной1х6х7,5В наличии
ГОСТ 20198-74Угольник проходной1х6х9,5В наличии
ГОСТ 20198-74Угольник проходной1х8х3,7В наличии
ГОСТ 20198-74Угольник проходной1х8х7,5В наличии
ГОСТ 20198-74Угольник проходной1х8х9,5В наличии
ГОСТ 20198-74Угольник проходной1х8х11,5В наличии
ГОСТ 20198-74Угольник проходной1х8х13,5В наличии
ГОСТ 20198-74Угольник проходной1х10х3,7В наличии
ГОСТ 20198-74Угольник проходной1х10х5,5В наличии
ГОСТ 20198-74Угольник проходной1х10х9,5В наличии
ГОСТ 20198-74Угольник проходной1х10х11,5В наличии
ГОСТ 20198-74Угольник проходной1х10х13,5В наличии
ГОСТ 20198-74Угольник проходной1х12х5,5В наличии
ГОСТ 20198-74Угольник проходной1х12х7,5В наличии
ГОСТ 20198-74Угольник проходной1х12х11,5В наличии
ГОСТ 20198-74Угольник проходной1х12х13,5В наличии
ГОСТ 20198-74Угольник проходной1х12х15,5В наличии
ГОСТ 20198-74Угольник проходной1х14х7,5В наличии
ГОСТ 20198-74Угольник проходной1х14х9,6В наличии
ГОСТ 20198-74Угольник проходной1х14х13,5В наличии
ГОСТ 20198-74Угольник проходной1х14х15,5В наличии
ГОСТ 20198-74Угольник проходной1х16х7,5В наличии
ГОСТ 20198-74Угольник проходной1х16х9,5В наличии
ГОСТ 20198-74Угольник проходной1х16х11,5В наличии
ГОСТ 20198-74Угольник проходной1х16х15,5В наличии
ГОСТ 20198-74Угольник проходной1х18х9,5В наличии
ГОСТ 20198-74Угольник проходной1х18х11,5В наличии
ГОСТ 20198-74Угольник проходной1х18х13,5В наличии
ГОСТ 20198-74Угольник проходной1х18х17,0В наличии
ГОСТ 20198-74Угольник проходной1х18х19,0В наличии
ГОСТ 20198-74Угольник проходной1х18х22,0В наличии
ГОСТ 20198-74Угольник проходной1х22х13,5В наличии
ГОСТ 20198-74Угольник проходной1х22х15,5В наличии
ГОСТ 20198-74Угольник проходной1х22х17,0В наличии
ГОСТ 20198-74Угольник проходной1х22х22,0В наличии
ГОСТ 20198-74Угольник проходной1х22х25,0В наличии
ГОСТ 20198-74Угольник проходной1х28х19,0В наличии
ГОСТ 20198-74Угольник проходной1х28х22,0В наличии
ГОСТ 20198-74Угольник проходной1х28х27,0В наличии
ГОСТ 20198-74Угольник проходной1х28х28,0В наличии
ГОСТ 20198-74Угольник проходной1х28х30,0В наличии
ГОСТ 20198-74Угольник проходной1х28х32,0В наличии
ГОСТ 20198-74Угольник проходной1х36х25,0В наличии
ГОСТ 20198-74Угольник проходной2х6х5,5В наличии
ГОСТ 20198-74Угольник проходной2х6х7,5В наличии
ГОСТ 20198-74Угольник проходной2х6х9,5В наличии
ГОСТ 20198-74Угольник проходной2х8х3,7В наличии
ГОСТ 20198-74Угольник проходной2х8х7,5В наличии
ГОСТ 20198-74Угольник проходной2х8х9,5В наличии
ГОСТ 20198-74Угольник проходной2х8х11,5В наличии
ГОСТ 20198-74Угольник проходной2х8х13,5В наличии
ГОСТ 20198-74Угольник проходной2х10х3,7В наличии
ГОСТ 20198-74Угольник проходной2х10х5,5В наличии
ГОСТ 20198-74Угольник проходной2х10х9,5В наличии
ГОСТ 20198-74Угольник проходной2х10х11,5В наличии
ГОСТ 20198-74Угольник проходной2х10х13,5В наличии
ГОСТ 20198-74Угольник проходной2х12х5,5В наличии
ГОСТ 20198-74Угольник проходной2х12х7,5В наличии
ГОСТ 20198-74Угольник проходной2х12х11,5В наличии
ГОСТ 20198-74Угольник проходной2х12х13,5В наличии
ГОСТ 20198-74Угольник проходной2х12х15,5В наличии
ГОСТ 20198-74Угольник проходной2х14х7,5В наличии
ГОСТ 20198-74Угольник проходной2х14х9,6В наличии
ГОСТ 20198-74Угольник проходной2х14х13,5В наличии
ГОСТ 20198-74Угольник проходной2х14х15,5В наличии
ГОСТ 20198-74Угольник проходной2х16х7,5В наличии
ГОСТ 20198-74Угольник проходной2х16х9,5В наличии
ГОСТ 20198-74Угольник проходной2х16х11,5В наличии
ГОСТ 20198-74Угольник проходной2х16х15,5В наличии
ГОСТ 20198-74Угольник проходной2х18х9,5В наличии
ГОСТ 20198-74Угольник проходной2х18х11,5В наличии
ГОСТ 20198-74Угольник проходной2х18х13,5В наличии
ГОСТ 20198-74Угольник проходной2х18х17,0В наличии
ГОСТ 20198-74Угольник проходной2х18х19,0В наличии
ГОСТ 20198-74Угольник проходной2х18х22,0В наличии
ГОСТ 20198-74Угольник проходной2х22х13,5В наличии
ГОСТ 20198-74Угольник проходной2х22х15,5В наличии
ГОСТ 20198-74Угольник проходной2х22х17,0В наличии
ГОСТ 20198-74Угольник проходной2х22х22,0В наличии
ГОСТ 20198-74Угольник проходной2х22х25,0В наличии
ГОСТ 20198-74Угольник проходной2х28х19,0В наличии
ГОСТ 20198-74Угольник проходной2х28х22,0В наличии
ГОСТ 20198-74Угольник проходной2х28х27,0В наличии
ГОСТ 20198-74Угольник проходной2х28х28,0В наличии
ГОСТ 20198-74Угольник проходной2х28х30,0В наличии
ГОСТ 20198-74Угольник проходной2х28х32,0В наличии
ГОСТ 20198-74Угольник проходной2х36х25,0В наличии

Для изготовителей и поставщиков: Добавить мои товары в базу

Для покупателей: Подать заявку на покупку

НаименованиеТипоразмерМатериалКоличество, штВес, кг
Угольник проходной ГОСТ 20198-74
О

ОСТ 1 30055-84 Накатка кольцевая стержней болт-заклепок из титанового сплава

ОСТ 1 31076-80 Маркировка крепежных изделий взамен НОРМАЛЬ 176АТ

ОСТ 1 31076-80: Маркировка крепежных изделий (взамен НОРМАЛЬ 176АТ)

ОСТ 1 38016-80 Футорки

ОСТ 1 38020-82 Втулки

ОСТ 1 39502-77 Стопорение болтов, винтов, шпилек, штифтов и гаек

ОСТ 1 39503-77 Длины болтов и винтов

ОСТ 1 39504-79 Головки шестигранные болтов и винтов

ОСТ 1 41471-79 Формообразование концов труб тяг управления из сплава Д16Т. Типовой технологический процесс

ОСТ 1 51730-79 Оснастка для формообразования концов труб тяг управления из сплава Д16Т

ОСТ 1 51731-79 Оснастка для формообразования концов труб тяг управления из сплава Д16Т

ОСТ 1.41001-79 Диаметры отверстий под нарезание резьбы метрической по нормали 754АТ

ОСТ 1.41002-79 Диаметры стержней под нарезание резьбы метрической по нормали 754АТ и ОСТ 1.00039-73

ОСТ 92-0762-72 Болты, винты из титановых сплавов

ОСТ 92-0912-69 Детали из высокопрочных углеродистых легированных и высоколегированных сталей. ОСТ 92-0912-69

ОСТ 92-1130-85 Детали стальные точные

ОСТ 92-1179-77 Детали и сборочные единицы из сталей марок 07Х16Н6 и 08Х17Н5М3

ОСТ 92-8653-75 по ОСТ 92-8674-75 Соединения трубопроводов по внутреннему конусу

ОСТ 92-8843-77 Крепежные детали повышенного качества

ОСТ-1-33102-80 Взамен нормали 102АТУ Гайки ОСТ-1-33102-80

Отраслевая нормаль 214АТ В замен нормали 214МТ55 метрическая резьбой со свободной посадкой

Отраслевая нормаль 714М55 pdf Кольца плоские ,стопорные технические условия

Отраслевая нормаль авиационной техники 101АТУ Взамен 201СТУ51

Отраслевая нормаль авиационной техники. Нормаль 722АТ.

Р

РЕЗЬБА МЕТРИЧЕСКАЯ

Резьба метрическая усиленная тугой посадкой сталь в алюминиевые и магниевые сплавы. Нормаль 254АТ взамен нормальный 154МТ46

Резьба метрическая. Основные размеры и допуски. Отраслевая нормаль 257АТ взамен 57АТ50 взамен 153МТ54.

РЕЗЬБА ТРАПЕЦЕИДАЛЬНАЯ

РЕЗЬБА ТРУБНАЯ ЦИЛИНДРИЧЕСКАЯ

РЕЗЬБА УПОРНАЯ

Резьба усиленная метрическая тугой посадкой сталь сталь система вала настоящая норма распространяется на резьбу усиленную метрическую тугой посадкой для сопрягаемых материалов сталь в сталь. Нормаль 122МТ53 взамен нормали 122МТ51

Резьба усиленная метрическая тугой посадкой сталь сталь система вала настоящая норма распространяется на резьбу усиленную метрическую тугой посадкой для сопрягаемых материалов сталь в сталь. Нормаль 122МТ53 взамен нормали 122МТ51

Резьбовые соединения. Резьба метрическая с натягом по посадкам 2Н5Д и 2Н5С Отраслевой стандарт ОСТ 1 04065–92

Оформите заказ или получите консультацию