ОСТ 1 10840-72 Винты с уменьшенной плоско-выпуклой головкой из титанового сплава

ОСТ 1 10840-72 ВИНТЫ С УМЕНЬШЕННОЙ ПЛОСКО-ВЫПУКЛОЙ ГОЛОВКОЙ ИЗ ТИТАНОВОГО СПЛАВА

     Винты по ОСТ 1 10840-72 – это особый крепеж, предназначенный для эксплуатации в соединениях при температуре:

- до 130°С без ограничения ресурса;

- до 200°С, ресурс не более 1000 часов;

- до 300°С, ресурс не более 200 часов.

Взамен нормали 5952А.

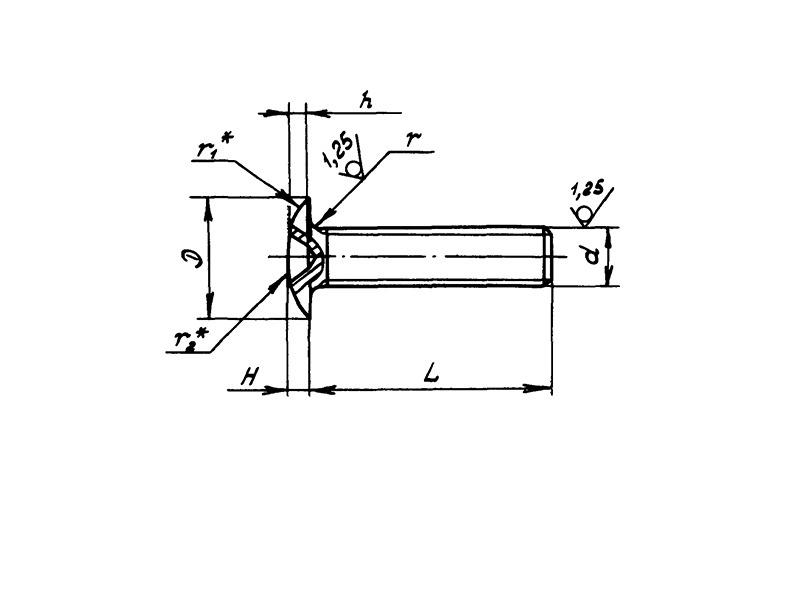
КОНСТРУКЦИЯ И ТЕХНИЧЕСКИЕ ОСОБЕННОСТИ

     Конструкция винта состоит из уменьшенной плоско-выпуклой головки и цилиндрического стержня с резьбой.

     Материал изготовления: титановый сплав ВТ16.

     Материал покрытия: Ан.Окс 2-3.

ОСТ 1 10840-72.pdf

Пример наименования и обозначения винта с уменьшенной плоско-выпуклой головкой, из титанового сплава, с резьбой М6 и длиной L=24 мм, анодированного:

Винт 6-24-Ан.Окс-ОСТ 1 10840-72

Винт
Наименование метиза
6
Диаметр резьбы
24
Длина
Ан.Окс
Материал покрытия
ОСТ 1 10840-72
Нормативный документ

ПРИМЕНЕНИЕ

     Винты применяются во многих отраслях промышленности, строительства и машиностроении. Высокий спрос на изделие и в машиностроеннии, где такие винты используют для надежного крепления, соединения металлических конструкций.

АНАЛОГИ

Нормаль 5952А.

ОСТ/ГОСТНормальНаименованиеТипоразмерНа складе
ОСТ 1 10840-725952АВинт4х5В наличии
ОСТ 1 10840-725952АВинт4х6В наличии
ОСТ 1 10840-725952АВинт4х7В наличии
ОСТ 1 10840-725952АВинт4х8В наличии
ОСТ 1 10840-725952АВинт4х9В наличии
ОСТ 1 10840-725952АВинт4х10В наличии
ОСТ 1 10840-725952АВинт4х11В наличии
ОСТ 1 10840-725952АВинт4х12В наличии
ОСТ 1 10840-725952АВинт4х14В наличии
ОСТ 1 10840-725952АВинт4х16В наличии
ОСТ 1 10840-725952АВинт4х18В наличии
ОСТ 1 10840-725952АВинт4х20В наличии
ОСТ 1 10840-725952АВинт4х22В наличии
ОСТ 1 10840-725952АВинт4х24В наличии
ОСТ 1 10840-725952АВинт4х26В наличии
ОСТ 1 10840-725952АВинт4х28В наличии
ОСТ 1 10840-725952АВинт4х30В наличии
ОСТ 1 10840-725952АВинт4х32В наличии
ОСТ 1 10840-725952АВинт4х34В наличии
ОСТ 1 10840-725952АВинт4х36В наличии
ОСТ 1 10840-725952АВинт5х7В наличии
ОСТ 1 10840-725952АВинт5х8В наличии
ОСТ 1 10840-725952АВинт5х9В наличии
ОСТ 1 10840-725952АВинт5х10В наличии
ОСТ 1 10840-725952АВинт5х11В наличии
ОСТ 1 10840-725952АВинт5х12В наличии
ОСТ 1 10840-725952АВинт5х14В наличии
ОСТ 1 10840-725952АВинт5х16В наличии
ОСТ 1 10840-725952АВинт5х18В наличии
ОСТ 1 10840-725952АВинт5х20В наличии
ОСТ 1 10840-725952АВинт5х22В наличии
ОСТ 1 10840-725952АВинт5х24В наличии
ОСТ 1 10840-725952АВинт5х26В наличии
ОСТ 1 10840-725952АВинт5х28В наличии
ОСТ 1 10840-725952АВинт5х30В наличии
ОСТ 1 10840-725952АВинт5х32В наличии
ОСТ 1 10840-725952АВинт5х34В наличии
ОСТ 1 10840-725952АВинт5х36В наличии
ОСТ 1 10840-725952АВинт5х38В наличии
ОСТ 1 10840-725952АВинт5х40В наличии
ОСТ 1 10840-725952АВинт5х42В наличии
ОСТ 1 10840-725952АВинт5х44В наличии
ОСТ 1 10840-725952АВинт6х8В наличии
ОСТ 1 10840-725952АВинт6х9В наличии
ОСТ 1 10840-725952АВинт6х10В наличии
ОСТ 1 10840-725952АВинт6х11В наличии
ОСТ 1 10840-725952АВинт6х12В наличии
ОСТ 1 10840-725952АВинт6х14В наличии
ОСТ 1 10840-725952АВинт6х16В наличии
ОСТ 1 10840-725952АВинт6х18В наличии
ОСТ 1 10840-725952АВинт6х20В наличии
ОСТ 1 10840-725952АВинт6х22В наличии
ОСТ 1 10840-725952АВинт6х24В наличии
ОСТ 1 10840-725952АВинт6х26В наличии
ОСТ 1 10840-725952АВинт6х28В наличии
ОСТ 1 10840-725952АВинт6х30В наличии
ОСТ 1 10840-725952АВинт6х32В наличии
ОСТ 1 10840-725952АВинт6х34В наличии
ОСТ 1 10840-725952АВинт6х36В наличии
ОСТ 1 10840-725952АВинт6х38В наличии
ОСТ 1 10840-725952АВинт6х40В наличии
ОСТ 1 10840-725952АВинт6х42В наличии
ОСТ 1 10840-725952АВинт6х44В наличии
ОСТ 1 10840-725952АВинт6х46В наличии
ОСТ 1 10840-725952АВинт6х48В наличии
ОСТ 1 10840-725952АВинт6х50В наличии

Для изготовителей и поставщиков: Добавить мои товары в базу

Для покупателей: Подать заявку на покупку

НаименованиеТипоразмерМатериалКоличество, штВес, кг
Винт ОСТ 1 10840-72 5952А
О

ОСТ 1 30055-84 Накатка кольцевая стержней болт-заклепок из титанового сплава

ОСТ 1 31076-80 Маркировка крепежных изделий взамен НОРМАЛЬ 176АТ

ОСТ 1 31076-80: Маркировка крепежных изделий (взамен НОРМАЛЬ 176АТ)

ОСТ 1 38016-80 Футорки

ОСТ 1 38020-82 Втулки

ОСТ 1 39502-77 Стопорение болтов, винтов, шпилек, штифтов и гаек

ОСТ 1 39503-77 Длины болтов и винтов

ОСТ 1 39504-79 Головки шестигранные болтов и винтов

ОСТ 1 41471-79 Формообразование концов труб тяг управления из сплава Д16Т. Типовой технологический процесс

ОСТ 1 51730-79 Оснастка для формообразования концов труб тяг управления из сплава Д16Т

ОСТ 1 51731-79 Оснастка для формообразования концов труб тяг управления из сплава Д16Т

ОСТ 1.41001-79 Диаметры отверстий под нарезание резьбы метрической по нормали 754АТ

ОСТ 1.41002-79 Диаметры стержней под нарезание резьбы метрической по нормали 754АТ и ОСТ 1.00039-73

ОСТ 92-0762-72 Болты, винты из титановых сплавов

ОСТ 92-0912-69 Детали из высокопрочных углеродистых легированных и высоколегированных сталей. ОСТ 92-0912-69

ОСТ 92-1130-85 Детали стальные точные

ОСТ 92-1179-77 Детали и сборочные единицы из сталей марок 07Х16Н6 и 08Х17Н5М3

ОСТ 92-8653-75 по ОСТ 92-8674-75 Соединения трубопроводов по внутреннему конусу

ОСТ 92-8843-77 Крепежные детали повышенного качества

ОСТ-1-33102-80 Взамен нормали 102АТУ Гайки ОСТ-1-33102-80

Отраслевая нормаль 214АТ В замен нормали 214МТ55 метрическая резьбой со свободной посадкой

Отраслевая нормаль 714М55 pdf Кольца плоские ,стопорные технические условия

Отраслевая нормаль авиационной техники 101АТУ Взамен 201СТУ51

Отраслевая нормаль авиационной техники. Нормаль 722АТ.

Р

РЕЗЬБА МЕТРИЧЕСКАЯ

Резьба метрическая усиленная тугой посадкой сталь в алюминиевые и магниевые сплавы. Нормаль 254АТ взамен нормальный 154МТ46

Резьба метрическая. Основные размеры и допуски. Отраслевая нормаль 257АТ взамен 57АТ50 взамен 153МТ54.

РЕЗЬБА ТРАПЕЦЕИДАЛЬНАЯ

РЕЗЬБА ТРУБНАЯ ЦИЛИНДРИЧЕСКАЯ

РЕЗЬБА УПОРНАЯ

Резьба усиленная метрическая тугой посадкой сталь сталь система вала настоящая норма распространяется на резьбу усиленную метрическую тугой посадкой для сопрягаемых материалов сталь в сталь. Нормаль 122МТ53 взамен нормали 122МТ51

Резьба усиленная метрическая тугой посадкой сталь сталь система вала настоящая норма распространяется на резьбу усиленную метрическую тугой посадкой для сопрягаемых материалов сталь в сталь. Нормаль 122МТ53 взамен нормали 122МТ51

Резьбовые соединения. Резьба метрическая с натягом по посадкам 2Н5Д и 2Н5С Отраслевой стандарт ОСТ 1 04065–92

Оформите заказ или получите консультацию