ОСТ 1 10030-71 Проходники ввертные для высокотемпературных агрегатов

ОСТ 1 10030-71 проходники ввертные для высокотемпературных агрегатов

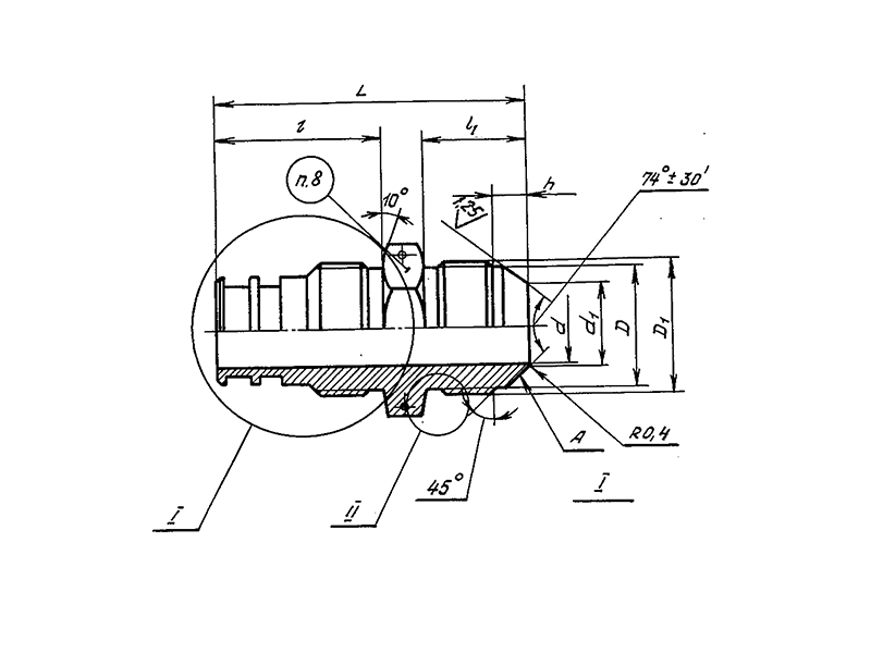
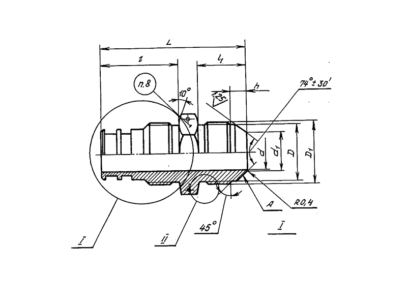
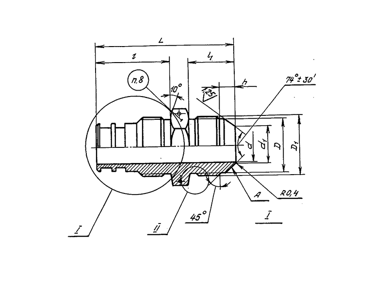
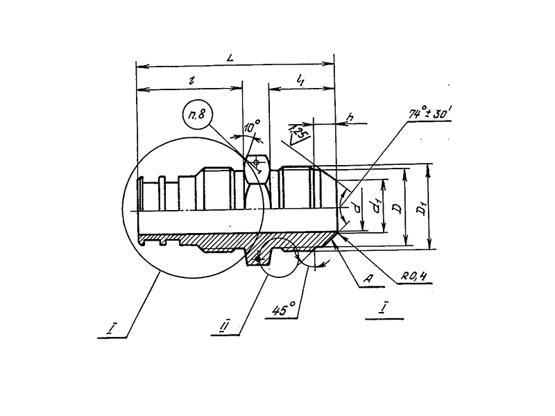
     Проходники ввертные по ОСТ 1 10030-71 – это особый крепеж, предназначенный для высокотемпературных агрегатов, работающих при давлении до 28 МПа (280 кгс/см2) в диапазоне температур от минус 60 до плюс 200 градусов.

КОНСТРУКЦИЯ И ТЕХНИЧЕСКИЕ ОСОБЕННОСТИ

     Конструкция проходника ввертного состоит из трубчатого корпуса с резьбами.

     Материал изготовления: сталь 13Х11Н2В2МФ-Ш.

     Материал покрытия: Хим.Пас.

ОСТ 1 10030-71.pdf

Пример наименования и обозначения ввертного проходника к трубопроводу Dн 16мм:

Проходник ввертной 16-ОСТ 1 10030-71

Проходник ввертной
Наименование метиза
16
Наружный диаметр резьбы
ОСТ 1 10030-71
Нормативно-технический документ

ПРИМЕНЕНИЕ

     Настоящий стандарт распространяется на ввертные проходники для высокотемпературных агрегатов, работающих при давлении до 28 МПа (280 кгс/см2) в диапазоне температур от минус 60 до плюс 200°C.

АНАЛОГИ

ОСТ/ГОСТНормальНаименованиеТипоразмерНа складе
ОСТ 1 10030-71Проходник ввертной4В наличии
ОСТ 1 10030-71Проходник ввертной6В наличии
ОСТ 1 10030-71Проходник ввертной8В наличии
ОСТ 1 10030-71Проходник ввертной10В наличии
ОСТ 1 10030-71Проходник ввертной12В наличии
ОСТ 1 10030-71Проходник ввертной14В наличии
ОСТ 1 10030-71Проходник ввертной16В наличии
ОСТ 1 10030-71Проходник ввертной18В наличии
ОСТ 1 10030-71Проходник ввертной20В наличии
ОСТ 1 10030-71Проходник ввертной22В наличии
ОСТ 1 10030-71Проходник ввертной25В наличии
ОСТ 1 10030-71Проходник ввертной28В наличии
ОСТ 1 10030-71Проходник ввертной30В наличии
ОСТ 1 10030-71Проходник ввертной32В наличии
ОСТ 1 10030-71Проходник ввертной34В наличии
ОСТ 1 10030-71Проходник ввертной36В наличии
ОСТ 1 10030-71Проходник ввертной38В наличии

Для изготовителей и поставщиков: Добавить мои товары в базу

Для покупателей: Подать заявку на покупку

НаименованиеТипоразмерМатериалКоличество, штВес, кг
Проходник ввертной ОСТ 1 10030-71
О

ОСТ 1 30055-84 Накатка кольцевая стержней болт-заклепок из титанового сплава

ОСТ 1 31076-80 Маркировка крепежных изделий взамен НОРМАЛЬ 176АТ

ОСТ 1 31076-80: Маркировка крепежных изделий (взамен НОРМАЛЬ 176АТ)

ОСТ 1 38016-80 Футорки

ОСТ 1 38020-82 Втулки

ОСТ 1 39502-77 Стопорение болтов, винтов, шпилек, штифтов и гаек

ОСТ 1 39503-77 Длины болтов и винтов

ОСТ 1 39504-79 Головки шестигранные болтов и винтов

ОСТ 1 41471-79 Формообразование концов труб тяг управления из сплава Д16Т. Типовой технологический процесс

ОСТ 1 51730-79 Оснастка для формообразования концов труб тяг управления из сплава Д16Т

ОСТ 1 51731-79 Оснастка для формообразования концов труб тяг управления из сплава Д16Т

ОСТ 1.41001-79 Диаметры отверстий под нарезание резьбы метрической по нормали 754АТ

ОСТ 1.41002-79 Диаметры стержней под нарезание резьбы метрической по нормали 754АТ и ОСТ 1.00039-73

ОСТ 92-0762-72 Болты, винты из титановых сплавов

ОСТ 92-0912-69 Детали из высокопрочных углеродистых легированных и высоколегированных сталей. ОСТ 92-0912-69

ОСТ 92-1130-85 Детали стальные точные

ОСТ 92-1179-77 Детали и сборочные единицы из сталей марок 07Х16Н6 и 08Х17Н5М3

ОСТ 92-8653-75 по ОСТ 92-8674-75 Соединения трубопроводов по внутреннему конусу

ОСТ 92-8843-77 Крепежные детали повышенного качества

ОСТ-1-33102-80 Взамен нормали 102АТУ Гайки ОСТ-1-33102-80

Отраслевая нормаль 214АТ В замен нормали 214МТ55 метрическая резьбой со свободной посадкой

Отраслевая нормаль 714М55 pdf Кольца плоские ,стопорные технические условия

Отраслевая нормаль авиационной техники 101АТУ Взамен 201СТУ51

Отраслевая нормаль авиационной техники. Нормаль 722АТ.

Р

РЕЗЬБА МЕТРИЧЕСКАЯ

Резьба метрическая усиленная тугой посадкой сталь в алюминиевые и магниевые сплавы. Нормаль 254АТ взамен нормальный 154МТ46

Резьба метрическая. Основные размеры и допуски. Отраслевая нормаль 257АТ взамен 57АТ50 взамен 153МТ54.

РЕЗЬБА ТРАПЕЦЕИДАЛЬНАЯ

РЕЗЬБА ТРУБНАЯ ЦИЛИНДРИЧЕСКАЯ

РЕЗЬБА УПОРНАЯ

Резьба усиленная метрическая тугой посадкой сталь сталь система вала настоящая норма распространяется на резьбу усиленную метрическую тугой посадкой для сопрягаемых материалов сталь в сталь. Нормаль 122МТ53 взамен нормали 122МТ51

Резьба усиленная метрическая тугой посадкой сталь сталь система вала настоящая норма распространяется на резьбу усиленную метрическую тугой посадкой для сопрягаемых материалов сталь в сталь. Нормаль 122МТ53 взамен нормали 122МТ51

Резьбовые соединения. Резьба метрическая с натягом по посадкам 2Н5Д и 2Н5С Отраслевой стандарт ОСТ 1 04065–92

Оформите заказ или получите консультацию